高压往复密封圈耐负压和疲劳性能试验方法:
1、耐负压试验
1.1 试验设备
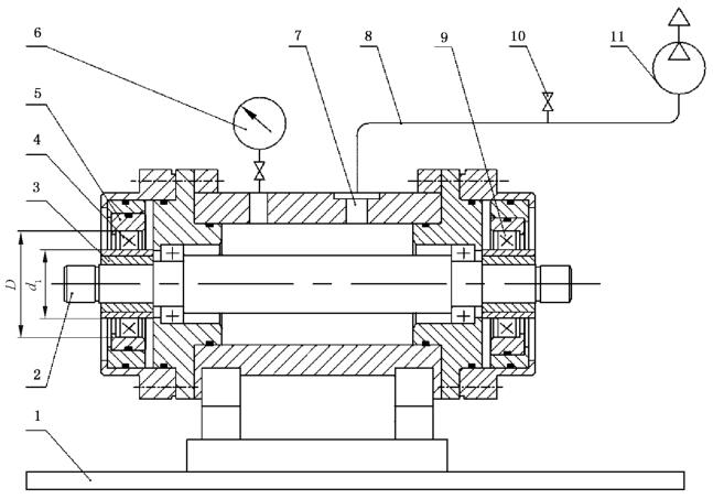
图 1 为耐负压试验设备的典型示意图。该设备应具有动、静偏心可调功能。试验设备主要技术参数见表 1。

说明:
d1——轴直径;D——腔体直径;1——底座;2——主轴;3——轴偏心套;4、9——被试密封圈;
5——密封圈腔体偏心套;6——真空表;7——进油口;8——气管;10——截止阀;11——真空泵。
图 1 耐负压试验设备典型示意图
表 1 耐负压试验设备主要技术参数表
| 项目 | 技术参数 |
| 偏心量调整范围 /mm | 0~1.0 |
| 压力范围 /MPa | 0~-0.1 |
1.2 试验条件
试验条件如下:
a)密封圈偏心量:按表 2 设定;
b)试验压力:不大于 -92kPa;
c)试验介质:空气。
表 2 高压往复密封圈高温密封试验静偏心量设定
单位为毫米
| 项目名称 | 轴径 d1 | ||||
| 5<d1≤15 | 15<d1≤25 | 25<d1≤35 | 35<d1≤45 | 45<d1≤55 | |
| 静偏心量 | 0.10 | 0.15 | 0.20 | 0.25 | 0.30 |
注:轴径 d1 大于 55mm 的高压往复密封圈静偏心量的设定与用户协商确定。 | |||||
1.3 试验程序
试验程序如下:
a)将 2 只密封圈,按要求安装到试验设备上;
b)在密封圈接触油腔体的一侧抽取空气至 1.2 中的试验压力后,关闭截止阀,保持 5min,观察压力变化情况。
1.4 按规定进行记录。
1.5 判定标准
密封腔体压力在规定的试验条件下保持 5min 不变,该项试验通过。
2、疲劳试验
2.1 试验设备
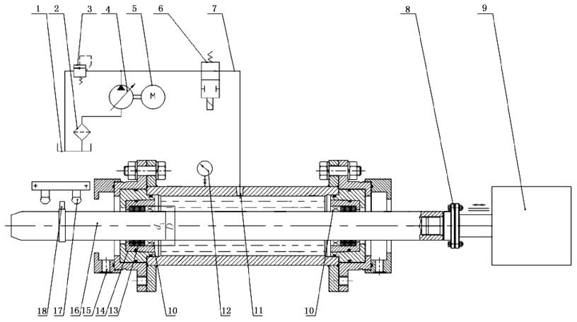
图 2 为疲劳试验设备的典型示意图。该设备应具有试验偏心可调、试验压力可调、自动换向、施加轴向交变载荷功能。试验设备主要技术参数见表 3。
2.2 试验条件
试验条件如下:
a)密封圈偏心量:按表 2 设定;
b)交变载荷频率:0.6Hz~1.2Hz;
c)往复行程:±5mm;
d)试验压力:转向器总成的额定工作压力;
e)试验介质:转向器实际使用的液压油;
f)试验循环次数:100 万次。

说明:
d1——轴直径;D——腔体直径;1——油箱;2——过滤器;3——溢流阀;4——液压泵;5——电动机;6——方向控制阀;
7——油管;8——法兰盘;9——往复驱动装置;10——被试密封圈;11——接进油路;12——压力计;13——滑动轴承;
14——密封圈腔体偏心套;15——接泄漏油管;16——轴;17——行程控制和记录装置;18——速度传感器。
图 2 疲劳试验设备典型示意图
表 3 疲劳试验设备主要技术参数表
| 项目 | 技术参数 |
| 偏心量调整范围 /mm | 0~1 |
| 压力范围 /MPa | 0~30 |
| 交变载荷频率 /Hz | 0~1.5 |
| 往复行程 /mm | 0~20 |
2.3 试验程序
试验程序如下:
a)将 2 只密封圈,按要求安装到试验设备上;
b)试验设备的油压达到转向器总成额定工作压力后,轴的两端按 2.2 的规定施加轴向交变载荷,进行 100 万次循环;
c)每 2h 检查一次泄漏情况和测量泄漏量,同时记录压力。
2.4 按规定进行记录
2.5 判定标准
经试验,2 只密封圈均无可见渗漏或泄漏,该项试验通过。
以上就是今天的分享!如果您对用于上述试验的高压往复密封圈耐负压试验装置和疲劳试验装置感兴趣,欢迎与我们联系!