高压往复密封圈的极限高压密封性能试验方法。
1、试验设备
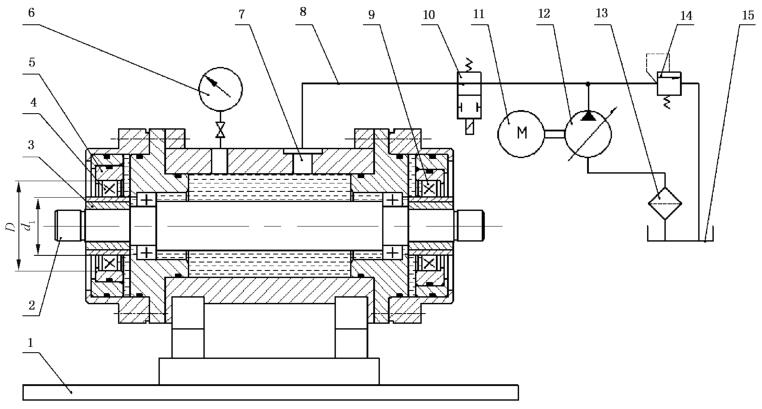
图 1 为极限高压密封试验设备的典型示意图。该设备应具有动静偏心可调、试验压力可调和压力过载保护功能。试验设备主要技术参数见表 1。

说明:
d1——轴直径;D——腔体直径;1——底座;2——主轴;3——轴偏心套;4、9——被试密封圈;
5——密封圈腔体偏心套;6——压力计;7——进油口;8——油管;10——方向控制阀;11——电动机;
12——液压泵;13——过滤器;14——溢流阀;15——油箱。
图 1 极限高压密封试验设备典型示意图
表 1 极限高压密封试验设备主要技术参数表
| 项目 | 技术参数 |
| 偏心量调整范围 /mm | 0~1 |
| 压力范围 /MPa | 0~60 |
2、试验条件
试验条件如下:
a)密封圈偏心量:按表 2 设定;
b)试验压力:从 0MPa 开始加压,每 5MPa 为一个压力等级,直至加压到转向器总成额定工作压力的 3 倍;
c)试验介质:转向器实际使用的液压油。
表 2 高压往复密封圈高温密封试验静偏心量设定
单位为毫米
| 项目名称 | 轴径 d1 | ||||
| 5<d1≤15 | 15<d1≤25 | 25<d1≤35 | 35<d1≤45 | 45<d1≤55 | |
| 静偏心量 | 0.10 | 0.15 | 0.20 | 0.25 | 0.30 |
注:轴径 d1 大于 55mm 的高压往复密封圈静偏心量的设定与用户协商确定。 | |||||
3、试验程序
试验程序如下:
a)将 2 只密封圈,按要求安装到试验设备上;
b)按每 5MPa 为一个压力等级加压,在每个压力等级下保持 5min,直至加压到转向器总成额定工作压力的 3 倍,检查整个试验过程有无液压油渗漏或泄漏;
c)记录发生可见渗漏或泄漏时的压力(若发生渗漏或泄漏)。
4、按规定进行记录。
5、判定标准
试验压力达到转向器总成额定工作压力 3 倍时,2 只密封圈无可见渗漏或泄漏,该项试验通过。
以上就是今天的分享!如果您对用于上述试验的高压往复密封圈极限高压密封性能试验装置感兴趣,欢迎与我们联系!