今天给大家带来的分享是关于真空绝热深冷设备漏率测量的试验原理与方法的内容。方法适用于除储运液氢介质以外的真空绝热深冷压力容器、真空绝热深冷焊接气瓶、真空绝热管及其管件等真空绝热深冷设备漏率的测量,其他设备可参照执行。
首先,我们先来学习三个定义:
1)漏率 leak rate
在规定条件下,一种特定气体通过漏孔的流量,单位为帕立方米每秒(Pa·m³/s)。
2)无分流检测法 helium hood leak detection method
用封闭罩将被检件部分或全部罩住,罩内充入氦气,对被罩部位进行氦质谱真空检漏的一种方法。
3)分流检测法 helium hood leak detection method by-passing
检漏中,被检件被有效抽空,一部分经漏孔进入的示漏气体被抽走,另一部分在检漏仪中建立起示漏气体分压,最终建立起平衡分压力而被检漏仪指示的一种真空检漏方法。
试验原理与方法:
1、检漏系统
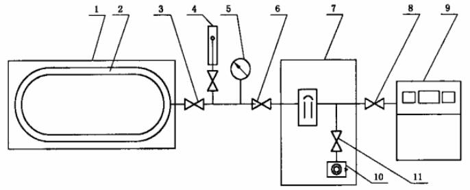
氦罩检漏系统试验装置原理图见图 1。
2、试验原理
2.1 基本原理
封闭的气罩将被检件外侧的被检区域罩住,被检件内部封闭空间抽至能保证氦质谱仪稳定工作在需要的灵敏度区间的真空度后,罩内充氦气。当被检件存在漏孔时,氦气经漏孔进入系统内部并被吸入检漏仪,检漏仪示出氦信号。通过与标准漏孔引起的氦信号进行比较,计算出被检件的漏率。
2.2 无分流检测法
被检件夹层内压力较低、气体负荷满足检漏仪抽气能力的条件下,经漏孔进入被检件的氦气全部进入检漏仪并转化为输出信号。本方法适用于高真空多层型绝热设备的漏率测量。
2.3 分流检测法
被检件夹层内压力较高、气体负荷不能满足检漏仪抽气能力的条件下,为维持检漏仪的工作压力,需增加辅助泵进行辅助抽气。经漏孔进入被检件的氦气一部分被辅助泵抽走,另一部分进入检漏仪并在检漏仪内建立起氦平衡分压力,检漏仪给出该压力下的氦输出信号。本方法适用于真空粉末型真空绝热深冷设备的漏率测量。

1——氦气罩;2——被检件;3——被检件真空阀;4——标准漏孔;5——真空规管;6——检测阀;
7——真空机组;8——检漏阀;9——氦质谱检漏仪;10——辅助泵;11——分流阀。
图 1 检漏系统试验装置原理图