今天给大家带来的分享是关于复合材料滤清器振动疲劳试验的内容。方法适用于测定全流式机油滤清器抗发动机振动的结构完整性,适用于最大流量不超过 100L/min 的旋装式滤清器和采用一次性滤芯的可拆换式滤清器。
振动疲劳(耐久)试验按以下程序和要求进行:
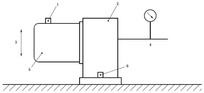
1、按推荐的拧紧扭矩或旋转角度将受试滤清器安装在滤座或接头上,见图 1。
2、将滤清器和滤座总成安装在一刚性支架或一不易变形的平板接头上,采用合适的垫片或密封圈以保证配合面不泄漏。
3、将带滤清器总成的支架或平板接头刚性安装在振动台平台上,确保滤清器极轴与激励轴垂直。
4、将滤清器连接到压力计和一常态室温油压源,采用柔性管以保证不与振动滤清器件发生干涉。
5、将输入加速度计安装在滤座/接头上,输出加速度计安装在滤清器上,输出加速度计的安装位置至密封圈上表面的近似距离为 100mm,如滤清器长度小于 120mm,则为滤清器长度的 85%。两加速度计的极轴应与激励轴平行(见图 1)。加速度计、振动控制和监控设备之间的电气连接应合适。

说明:
1——输出加速度计;2——接头;3——激励轴线;4——压力源;
5——受试机油滤清器;6——输入加速度计;7——振动台平台。
图 1 试验台首选布置图
6、保证试验滤清器内充满试验液,所有夹带空气已从总成中排尽。将总成内加压至滤清器额定压力,或制造商与客户协商值。如果无给点试验压力,则将试验滤清器加压至 500kPa。整个试验过程中均应保持该压力。
7、在进行 8 之前,开启加热装置,使试验件温度达到 121℃ 或滤清器制造商与客户商定值。整个振动试验过程中均应保持该温度。
8、启动振动台,如滤清器制造商与客户无特别商定值,则以恒定输入加速度峰值 60m/s²±0.3m/s² 扫振共振频率至 400Hz。
如果共振发生在单一频率,则以该频率按下述规定进行试验;如果共振频率不只一个,则以最大振幅(峰值至峰值的位移)下的频率按下述规定进行试验;如果未发生共振,则以 150Hz 的频率按下述规定进行试验。
调整振动台的功率以使达到滤清器制造商与发动机制造商商定的峰值输入加速度,或在缺省商定值的情况下,按 60m/s² 的加速度,确定振动总振幅。
注 1:振动总振幅(峰值至峰值)S,单位为米(m),可按式(1)进行计算:
![]()
式中:
a——峰值加速度,单位为米每二次方秒(m/s²);
ƒ——振动频率,单位为赫兹(Hz)。
复合材料与金属材料相比在非常低水平的施加力下可能表现出非线性响应。推荐采用被证实的响应线性。如果响应非线性,本方法使用范围的应用应进行验证。
9、除非出现失效,总成的试验循环次数为 107。按 8 确定的频率开始进行试验。在整个试验过程中试验总成的响应频率可能发生变化,应定期对试验滤清器的共振频率进行验证。可以采用共振跟踪振动控制器进行自动控制。否则,每进行 5×105 次循环试验后重复 8 所述过程并修正频率值,并继续进行试验。
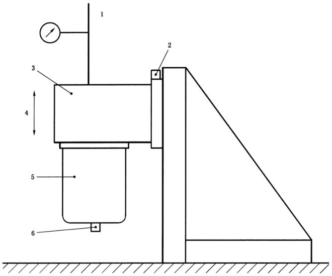
10、如果完成 107 次循环试验未出现明显失效,则重复 1~9 的过程,但试验滤清器安装成极轴与激励轴一致。加速度计的位置见图 2。
11、如果第二方向上完成 107 次循环试验未出现明显失效,测定试验滤清的拆卸扭矩或旋转角度并与原始设定值进行比较。
12、排尽试验滤清器内试验液,并小心拆解滤清器以显示出任何可见内部损坏。

说明:
1——压力源;2——输入加速度计;3——接头;4——激励轴;
5——受试机油滤清器;6——输出加速度计;7——振动平台。
图 2 第二种布置试验台