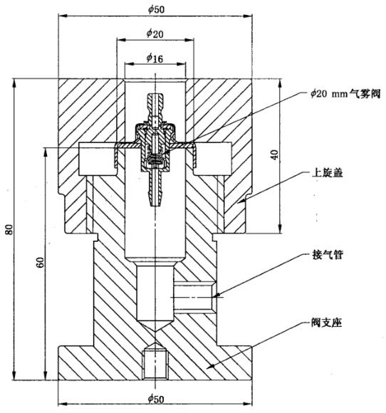
气雾阀 aerosol valve,是一种固定在气雾剂容器上的机械装置,关闭时保证内容物不泄漏,促动时使内容物以预定的形态释放出来。
今天我们来学习关于气雾阀性能试验方法的内容。
1、畅通性测试
1.1 仪器
泄漏试验仪,如图 1 所示,压力测量范围 0~1.6MPa,精度 1.6 级。
单位为毫米
|
|
a)φ25.4mm 气雾阀泄漏试验仪 | b)φ20mm 气雾阀泄漏试验仪 |
图 1 泄漏试验仪示意图
单位为毫米
|
|
a)φ25.4mm 气雾阀压力试验仪 | b)φ20mm 气雾阀压力试验仪 |
图 2 压力试验仪示意图
1.2 测试方法
将样品放入泄漏试验仪内,紧固样品后,充气加压至 0.5MPa,用手按下促动器,打开气雾阀,从促动器的通道中有气泡连续冒出为合格。
2、密封性测试
2.1 仪器
同 1.1。
2.2 测试方法
将样品放入泄漏试验仪器内,紧固样品后,充气加压至不小于 0.85MPa,用手按下促动器,从促动器通道中有气泡冒出,松开手后保持 1min 无气泡冒出为合格。
3、固定盖耐压性测试
3.1 仪器
压力试验仪,如图 2 所示,压力表精度 1.6 级,量程 0-2.5MPa。
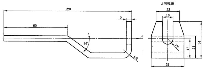
专用百分表,如图 3 所示,测量范围 0〜10mm,分度值 0.01mm。
单位为毫米

图 3 气雾阀固定盖耐压性测试专用百分表示意图
3.2 测试方法
将样品用专用百分表测量 h 值后放入压力试验仪内,加压至 1.8MPa 保持 1min,卸压后取出样品,然后再用专用百分表测量 h 值,计算二次测量值之间的变化,变化值 △h 不大于 0.30mm 为合格,计算如式(1):
△h=h2-h1 ...................(1)
式中:
h2——受内压后的h值,单位为毫米(mm);
h1——受内压前的h值,单位为毫米(mm)。
4、引液管拉脱力测试
4.1 试验温度
25℃±5℃。
4.2 仪器
a)拉压力试验机:精度误差小于示值的 ±1%,最大负荷 500N。
b)专用铁钩,如图 4 所示。
单位为毫米

图 4 专用铁钩示意图
4.3 测试方法
将试验机调整后,先将专用铁钩夹在试验机的夹头上,再把试样放在专用铁钩上,接着将试样的引液管长度的中间处夹在试验机的下夹头上。将拉伸速度调至 50mm/mim,开动试验机拉伸至引液管脱离阀体止,读出读数。
5、定量型气雾阀喷量误差测试
按 GB/T 14449-2008 中 5.9 方法测试。
6、阀体压脱力测试
6.1 试验温度
25℃±5℃。
6.2 仪器
拉压力试验机:精度误差小于示值的 ±1%,最大负荷 500N。
6.3 测试方法
将试验机调整后,先将气雾阀固定在专用夹具上,将速度调至 100mm/min,开动试验机压至阀体脱离固定盖止,读出读数。
7、囊阀囊袋密封性能测试
往囊阀中注入额定容量的清水,将试验用囊袋样品放入囊袋耐压装置内,如图 5 所示,在大于或等于 400N 压力下保持 1min 以上,囊袋无破裂或渗漏。
单位为毫米

说明:
1——砝码;2——上加压盘;3——试验用囊袋;4——下加压盘。
图 5 囊袋耐压装置示意图