液压电磁换向阀性能试验回路原理图,见下图 1:

1——液压泵;2-1、2-2——溢流阀;3-1、3-2、3-3、3-4——压力表;4——被试阀;5——流量计;
6-1、6-2——单向节流阀;7——蓄能器;8——截止阀;9——温度计;10——单向阀;11、12——过滤器。
图 1 液压电磁换向阀试验回路原理图
液压电磁换向阀出厂试验项目与试验方法按表 1 的规定:
表 1 出厂试验项目与试验方法
| 序号 | 试验项目 | 试验方法 | 试验类型 |
| 1 | 耐压性 | 各泄油口与油箱连通。调节滋流阀 2-1,调节压力从最低工作压力开始, 以每秒 2% 的速率递增,直至被试阀 4 额定压力的 1.5 倍。达到后,保压 5min | 抽试 |
| 2 | 滑阀机能 | 按照被试阀 4 的机能,依次换向和复位。同时,观察被试阀 4 各油口的通油情况 | 必试 |
| 3 | 换向性能 | (1)换向试验 使被试阀 4 的电磁铁满足规定。调节溢流阀 2-1 和单向节流阀 6-1 (或节流阀 6-2),使被试阀 4 的 P 油口压力为额定压力,再调节溢流阀 2-2, 使被试阀 4 的 T 口压力为规定背压值,并使通过被试阀 4 的流量为试验流量。 在上述试验条件下,将被试阀 4 的电磁铁通电和断电,连续动作 10 次以上, 观察被试阀 4 的换向和复位(对中)情况 | 必试 |
(2)停留试验 在换向试验的条件下,使被试阀4的阀芯在初始位置和换向位置上各停留 5min。 然后,将被试阀 4 的电磁铁通电和断电,观察被试阀 4 的换向和复位(对中)情况 | 抽试 | ||
| 4 | 压力损失 | 将被试阀 4 的阀芯置于各通油位置,并使通过被试阀 4 的流量为试验流量, 分别用压力表 3-1、压力表 3-2、压力表 3-3、压力表 3-4 测量各点的压力 PP、PA、PB、PT, 并计算压力损失: 对二位二通被试阀:当油流方向为 P→T 时,压力损失为 △PP→T=PP-PT 对二位三通被试阀:当油流方向为 P→A 时,压力损失为 △PP→A=PP-PA, 当油流方向为 P→B 时,压力损失为 △PP→B=PP-PB 对二位四通、三位四通被试阀:当油流方向为 P→A、B→T 时,压力损失 为 △PP→A=PP-PA、△PB→T=PB-PT;当油流方向为 P→B、A→T 时,压力损失 为 △PP→B=PP-PB、△PA→T=PA-PT、对三位四通中间位置存在油流方向为 P→T 的 滑阀机的被试阀,在中间位置需做压力损失试验,压力损失为 △PP→T=PP-PT 其他滑阀机能,在中间位置不做试验 | 抽试 |
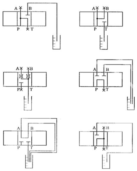
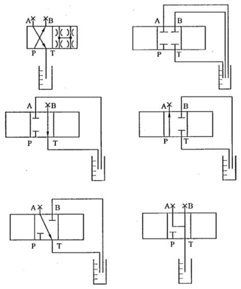
| 5 | 内泄漏量 | 调节溢流阀 2-1,使被试阀 4 的 P 油口压力为额定压力。按照被试阀 4 的滑阀机能和结构, 分别从 A(或 B)油口和 T 油口测量被试阀 4 的阀芯在各不同位置时的内泄漏量 | 必试 |
在测量内泄漏量前,将被试阀 4 动作 10 次,待内泄漏量稳定 30s 后再测量内泄漏量。 对不同的滑阀机能,内泄漏量测量简图如下:
| 必试 | ||
| 6 | 密封性 | 在上述各项试验过程中,目测观察被试阀4连接面及各连接处密封情况 | 必试 |