液压传动连接-管接头的振动试验:
除非在相应标准中另有规定,应按如下规定的步骤对 6 个试验组件进行试验,以确定管接头是否能够承受规定的振动,没有泄漏或元件失效。对于通径 51mm 及以上的法兰组件和钢管外径为 50mm 及以上的管接头,如果设计经过了计算或有限元分析校核,则对 3 个试验组件进行试验即可。
1、试验步骤如下:
1.1 振动试验应按照表 1 和 1.2~1.7 的规定进行。
表 1 振动试验的参数和步骤
| 试验参数 | 参数值和试验步骤 |
| 试验介质 | 符合 ISO 6743-4 黏度不高于 ISO 3448 的 ISO VG 32 的液压油(如 HM);或水 试验介质应记录在试验报告中 |
| 试验压力 | 按选用钢管的工作压力并低于管接头的最大工作压力 |
| 试验弯曲应力 | 钢管最小屈服强度的 25%,但不超过 60N/mm² |
| 试验振动频率 | 10Hz~50Hz 的固定频率 |
| 试验持续时间 | 最少 1000 万次振动循环 |
| 判定标准 | 试验组件在 1000 万次循环之前应无泄漏或失效 |
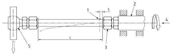
1.2 按图 1 所示准备试验组件。应变片应安装在图 1 指定的位置。最小测量长度 L 应符合表 2 的规定。
1.3 如图 1 所示,将试验组件安装在能提供旋转或平面振动的试验装置上。
1.4 给试验组件加压至表 1 中规定的试验压力。
1.5 在与应变片相对的钢管末端施加弯曲载荷,直至试验弯曲应力达到钢管最小屈服强度的 25%。
注:当使用最小屈服强度大于 235MPa 的钢管时,确定试验中使用的应力水平,需要考虑钢管的动态性能。
1.6 给试验组件施加 10Hz~50Hz 的振动,直至其失效或达到 1000 万次循环。
1.7 如果试验组件在达到 1000 万次循环前出现失效,记录达到的循环次数和失效类型。
2、被试件的再利用
经过该项试验的被试件不应再进行其他试验,不应用于实际使用或返回库存。

标引序号说明:
1——应变片;2——驱动端;3——试验组件;4——固定端;5——液压油或水进口。
a)旋转或平面振动试验组件和装置

标引序号说明:
1——应变片;2——驱动端;3——试验组件;4——液压油或水进口;5——荷载作用位置。
b)可选择的旋转振动试验组件和装置
图 1 典型振动试验组件和装置
表 2 振动试验的最小测量长度
单位为毫米
| 钢管外径 D | 最小测量长度 L |
| D≤20 | 250 |
| 20<D≤50 | 250 或 8D,取大值 |
| D>50 | 400 或 8D,取大值 |
以上就是本次的分享!如果您对用于上述试验的管接头振动试验装置感兴趣,欢迎与我们联系!