今天给大家带来的分享是关于陆地或近海用端部连接耐火试验的内容。如果您对用于下述试验所用到的相关试验装置感兴趣,欢迎与我们联系!
1、总则
1.1 范围
本章规定了燃烧条件下对在陆上或近海用 SY/T 5127-2002 规定的端部连接的承压性能进行试验和评价的程序。本章的性能要求是为各规格或压力等级的端部连接确定可接受的标准极限。本章不涉及海洋平台可能遇到的火灾情况。
燃烧期指燃烧后直至大部分火焰熄灭所需要的最长时间。通常,耐火试验的实际燃烧持续时间比预期的时间要长。
1.2 耐火试验
1.2.1 端部连接耐火试验应用水作为试验介质。隔离在试验装置中的水的总体积不应超过一个圆筒形容器的体积,容器的直径等于被试端部连接的标称尺寸,长度等于被试端部连接标称尺寸的两倍。端部连接的中轴线方向应保持垂直或水平。为了验证端部连接在抗弯和抗压设计性能,要求进行第二个试验。
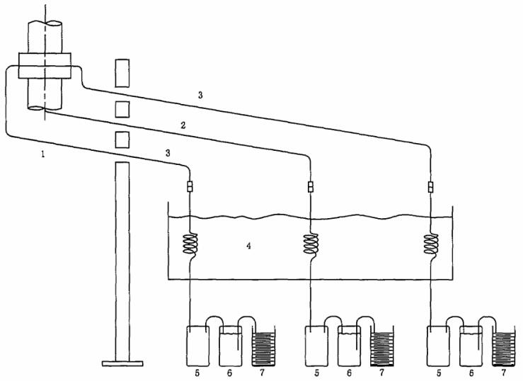
1.2.2 被试端部连接应置于由热电偶和热量计制成的温度和火焰测试装置中(参见图 1)。试验装置应至少包括三个热量计块和三个热电偶,它们应在端部连接圆周面均匀分布,如图 2 中所示。两个热量计之间的最大间隔为 3053)mm(12in)。另外有两个热量计块和热电偶应分别在端部连接的两侧,置于法兰长度 3/2 处或孔直径两倍距离处,取其较大者。所在位置是圆周位置上距着火点最远处。

①-压力源;②-调压泄压阀;③-储水罐;④-刻度观测计;⑤-水源;⑥-截止阀;⑦-压力表;⑧-收集凝气的管道;⑨-试验用外罩[端部连接的任何部分和外罩之间的水平间隙至少为150mm(6in)];⑩-外罩的高度至少高出端部连接顶部150mm(6in);⑪-被试端部连接应水平或垂直安装;⑫-可燃气供至燃烧器;⑬-热量计块;⑭-火焰温度热电偶;⑮-截止阀;⑯-排放阀;⑰-止回阀
图 1 推荐的端部连接耐火试验系统示意图
热量计块应由碳钢材料制成的边长为 38mm(11/2in)的一个立方体块,以及安装在其中心的一个热电偶组成,参见图 2。

注1:立方体材质为碳钢。注2:一般公差为±0.8mm(±0.03in)
图 2 热量计块
1.2.3 试验压力应是端部连接额定工作压力的 75%。
1.2.4 燃烧过程应从点火开始至少持续 30min,详见"2"。
1.3 弯曲试验
在燃烧持续 25min 后,应在被试端部连接的端部施加一个弯矩。端部连接应能承受该弯矩且不应出现超出可接受水平的泄漏,并记录和报告泄漏量。
图 3 和图 4 所示为两种施加弯矩的推荐方法。如按图 5进行测试,液压油缸同时对连接件施加拉力和弯矩。应确定油缸的规格以确保其产生的拉力不超过连接件端部总压力载荷的 10%。

1——弯曲构件;2——被试连接;3——活塞气缸
图 3 带一个活塞式液压缸的典型弯曲试验装置

1——弯曲构件;2——受拉活塞;3——被试连接;4——受压活塞
图 4 带两个活塞式液压缸的典型弯曲试验装置
施加弯矩的任何装置应设计成能够安全承受试验载荷,并且不会在连接件与火焰间形成隔离。
1.4 泄漏试验
端部连接的泄漏试验应通过图 5 中所示的测试装置进行准确的收集和测量。端部连接的主密封外部应有一个由耐高温材料(如石墨或金属箔填料)制成的二级密封。应在端部连接钻两个泄漏孔,从连接件的外部至主密封和二级密封之间的区域形成一个闭合腔。被试连接是由两个端部连接相对组成的。

1——被试连接;2——补偿管线;3——泄漏管线;4——冷凝器;5——滤液器;6——滤气器;7——收集器
图 5 测漏系统
应将两根等长的管线连接在泄漏孔上。将第三根等长的管线堵上并与这两根管线一样安装在测试装置上。第三根管线用作补偿泄漏管线中膨胀的空气。
如图 5 所示,这三条管线应依次通过冷凝器、滤液器和滤气器,最后通至量筒中以进行泄漏测量。如用氮气代替滤器中的水,见 2.1 j)中的规定。如果整个试验过程都用水,那么可以不用滤液器和滤气器,直接将冷凝器中出来的液体排入量筒中。也可以不用那根补偿管线。
将从连接泄漏孔的两条管线排出的液量相加,然后减去从补偿管线排出的液量的两倍即泄漏量。
对于弯曲试验,通过如图 6 所列一个或多个热电偶显示温度持续降低 93℃(200℉)或者更低而测试到的持续泄漏情况可以用来表示弯矩。该试验装置可以代替上述的泄漏试验系统。

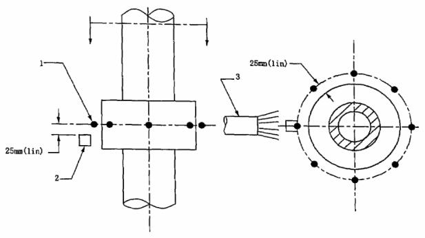
1——热电偶;2——热量计
注:三个热量计均匀分布在接头周围。对于 179mm(71/16in)和更小的连接,热电偶间的间距最大为45°;对于大于 179mm(71/16in)的连接,热电偶间距最大为 30°。
图 6 陆上用热电偶和热量计的弯曲试验位置
2、试验程序
2.1 试验步骤(参见图 1)
a)向图 5 所示的泄漏管线施加压力至少至 0.034MPa(5psi),以确保二级密封是有效的。
b)用干燥的氮气吹洗泄漏管线,以确保管线内畅通无阻。
c)打开供水阀门(见图 1 中 ⑤ 和 ⑥)和排放阀(见图 1 中 ⑮ 和 ⑯),使水流经整个系统,并排除空气。
d)关闭注水阀(见图 1 中 ⑤)和排放阀(见图 1 中 ⑮ 和 ⑯),系统应完全充满水。
e)向系统施加适当的试验压力(见表 1),在燃烧和冷却期保持该压力。如果压力回复的累计时间不超过 2min,且任何泄漏都在验收准则之内,那么允许出现暂时的压降。
f)开启燃料供应阀,点火并监测火焰温度。两个热电偶(见图 1 中 ⑭)的平均温度应在 2min 之内达到 761℃(1400℉)。根据 g),在热电偶的平均温度达到 650℃(1200℉)之前,保持平均温度在 761℃〜980℃(1400℉~1800℉)之间,燃烧的其余时间内热电偶读数不应低于 704℃(1300℉),达到那个温度值后,可以将火焰调节到 g)要求的任何温度以维持热量计温度。
g)热量计(见图 1 中 ⑬)的平均温度在点火 15min 之内应达到 650℃(1200℉)。在燃烧期间热量计最小平均温度应维持在 650℃(1200℉),任何热量计温度不得低于 565℃(1050℉)。
h)燃烧期间每隔 30s 记录一次仪表的读数(见图 1 中 ⑦,⑬ 和 ⑭)。
i)在燃烧期(30min)结束时,关闭燃料阀。
j)将连接件空冷(或允许的冷却方式)到 100℃(212℉)或更低。可用氮气维持试验连接件在这期间的压力。
k)将端部连接泄压。
1)向被试连接件施加压力,试验压力见表 1。
m)至少保持试验压力 5min。
n)如果要对端部连接进行弯曲试验,重复一次步骤 a)〜h)。
o)燃烧 25min之后,向弯曲试验中连接件施加弯矩。
P)每增加一次弯矩,至少暂停 15s,记录下弯矩,并观测总泄漏量是否超过试验允许的泄漏量,或者,如果用了图 6 或图 7 中的热电偶组,观察泄漏情况。
q)在保持总泄漏量不超过最大允许泄漏量的情况下,记录最大弯矩。
r)记录火焰燃烧和熄灭的持续时间。连接件可以在此时泄压。
表 1 试验压力
SY/T 5127-2002 端部连接 | 额定工作压力 | 试验压力 a | ||
| MPa | psi | MPa | psi | |
| 18 | 2000 | 10.3 | 1500 | |
| 20.7 | 3000 | 15.5 | 2250 | |
| 34.5 | 5000 | 25.9 | 3750 | |
| 69.0 | 10000 | 51.7 | 7500 | |
| 105 | 15000 | 77.6 | 11250 | |
| 138.0 | 20000 | 105 | 15000 | |
a 公差为±10%。 | ||||

1——热电偶;2——热量计;3——燃烧器
注:对于 179mm(71/16in)和更小的连接,热电偶间的间距最大为 45°;对于大于 179mm(71/16in)的连接,热电偶间距最大为 30°。
图 7 陆上海岸用燃烧器、热电偶和热量计的弯曲试验位置
2.2 试验调整
在试验期间,除了被试件,可对测试系统进行调节,以保持试验符合本标准相关规定。
3、性能要求
3.1 验收准则
3.1.1 非弯曲试验
对于图 5 所示测漏系统,在燃烧期和冷却期间,以及降压和再次加压之后的 5min之内,主密封垫环周长上每毫米允许泄漏量 0.04mL/min(每英寸允许泄漏量 1mL/min)。
3.1.2 弯曲试验
a)测漏系统:对于图 5 所示测漏系统,在未加载的燃烧过程和在每次增加弯矩期间,主密封垫环周长上每毫米允许泄漏量 0.04mL/min(每英寸允许泄漏量 1mL/min)。
b)热电偶阵列:对于图 6 所示热电偶阵列,允许泄漏量是在未加载的燃烧过程和在每次增加弯矩期间,引起阵列中任何热电偶显示的温度持续下降至低于 93℃(200℉)时的泄漏量。
c)弯矩要求:施加的不会引起过多泄漏量的弯矩不应低于连接件承载能力的 75%,弯矩或者由 API TR 6AF 中的数据确定或由制造商形成文件的设计参数决定。
4、安全防护
由于被试连接件的设计和试验程序的原因,压力边界组件可能存在爆裂的潜在危险,所以对试验人员应提供安全防护。