今天给大家带来的分享是关于用于油燃烧器的橡胶软管和软管组合件(以下简称软管组合件)的外压及压力脉冲试验方法的内容。如果您对用以下测试的相关试验装置(如软管测定耐外压的装置、软管压力脉冲循环试验装置)感兴趣,欢迎与我们联系!
1、耐外压的测定试验
1.1 技术要求
当按 1.2 规定的方法进行试验时,软管外径减小不应超过 6%。
1.2 试验方法
测量长度约 500mm 的软管组合件的管接头之间的自由长度 l。封闭一端,将另一端连接到压力容器里面的连接器上。将连接器另一端连接到经校准的玻璃立管上(见图 1)。
向软管组合件和立管中注入水,无留存空气,关闭压力容器。在 70℃ 下调节 1h。在压力容器内施加(0.06±0.005)MPa 的压力,5min 后,读取立管中弯液面高度的变化 △h。
使用公式(1)计算软管组合件内径的减小,用百分比表示:
(dk2*△h)/(ds2*l)*100 ... ... ... (1)
式中:
dk——立管内径,单位为毫米(mm);
ds——软管内径,单位为毫米(mm);
△h——弯液面高度的变化,单位为毫米(mm);
l——软管的自由长度,单位为亳米(mm)。
立管的内径的选择,应使试验后的弯液面不高出软管组合件最低点上方 150mm。
单位为毫米

标引序号说明:1——经校准的立管;2——注有水的软管组合件;3——压力容器;
4——封闭端;5——压力连接件;6——连接用的接头;7——透明软管。
a 试验后的弯液面;b 试验前的弯液面。
图 1 测定耐外压的装置
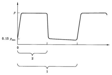
2、压力脉冲试验
2.1 技术要求
当按 2.2 规定的方法进行试验时,完成 30 000 次脉冲之后应无泄漏或损坏。
2.2 试验方法
应取 2 根长度等于软管外径 20 倍(最小 250mm)的软管组合件进行试验。使每根组合件以(0.04±0.01)Hz 的频率承受内压力脉冲。压力循环应如图 2 所示。试验流体应为 ISO 1817 规定的 3 号油或 ISO 1436 规定的流体。每根软管组合件应以 8 倍于软管外径的半径弯曲 180°,安装在试验装置上。峰值试验压力和试验流体温度应符合表 1 的规定。
表 1 峰值试验压力和流体温度
| 试验参数 | 1 型 | 2 型 |
| 峰值试验压力 p | 1.5MPa(15bar) | 6.0MPa(60bar) |
| 试验流体温度 | 70℃ | 125℃ |

标引序号说明:1——1 个循环;2——0.5 个循环。
图 2 压力脉冲循环