今天给大家带来的分享是关于调速式气动管接头的技术要求及试验方法的内容。
调速式气动管接头是一种用于气动系统中接管外径3mm~15mm,最高工作压力不大于2.5MPa,附带节流装置的气动管接头。其技术要求及性能试验方法如下:
1、技术要求
1.1 额定压力
1.1.1 额定压力按 GB/T 2346 先用。
1.1.2 额定压力应按 2.2 规定的方法予以验证。
1.2 泄漏
按 2.3 规定的方法测试,在额定压力下,不允许有外泄漏;内泄漏不超出 50cm³/min(ANR)。
1.3 工作耐压性能
按 2.4 的方法测试,在 1.5 倍额定压力下,保压 2min,不出现任何永久变形和外泄漏。
1.4 拉拔分离性能
符合 JB/T 7056 规定要求。
1.5 规格与流量
按 2.5 的方法测试,各种规格管接头的流量应等于或大于表 1 的规定值。
表 1 规格与流量
| 公称通径 mm | 流量(进口压力为 300kPa) (dm³/min(ANR)] | |
| 控制流道 | 自由流道 | |
| 3 | 90 | 130 |
| 6 | 340 | 450 |
| 8 | 700 | 900 |
| 10 | 1300 | 1700 |
| 15 | 2100 | 2700 |
1.6 节流特性
按 2.6 的方法测定绘制节流特性曲线。曲线应平滑无突变。
1.7 外观要求
外观应光滑,不得有伤痕,锈斑,毛刺等缺陷。应有明显的节流指向标志。
1.8 其他要求
对带螺柱端的调速式管接头,它与气口的连接要求应符合 ISO 16030 的规定。
2、测试方法
2.1 通则
2.1.1 除非用户有特殊要求,测试在室温 25℃±10℃ 和一般相对湿度水平 65%±5% 条件下进行。
2.1.2 除非用户有特殊要求,测试所用仪器允许的不确定度均为 ±2%。
2.1.3 测试样品至少五件,应随机抽样。
2.1.4 型式试验的样品,每件在测试前管接头与接管的连接应装拆四次,第五次连接以备测试。
2.1.5 参照图 1 所示安装被测试管接头及其接管,接管长 L≥(10〜20)d(d 为接管外径)。
2.1.6 型式试验时下列项目都要测试;其中 2.3、2.4 和 2.8 为出厂试验项目。出厂试验采用必检还是抽检,由制造商自定。

图 1 被测管接头和接管连接示意图
2.2 额定压力验证测试
2.2.1 本项目测试用液体介质。
2.2.2 拆除调节杆,螺口用堵头封住,管接头一端也封住。
2.2.3 以恒常速率增加压力,先达到 1.5 倍〜2 倍额定压力。保压 1min,检查是否正常;再继续升压达到 4 倍额定工作压力,保压 2min。在升压过程中和测试后应无爆裂、永久变形和因渗漏出现的外表湿润现象。
以期料材料为主体的管接头,试验压力应为 5 倍额定工作压力。
2.3 泄漏试验
2.3.1内泄漏测试
将调节杆置于全闭位置,在进气口通入额定压力的压缩空气,在出口侧测定泄漏量。泄漏量应符合 1.2 的规定。
2.3.2外泄漏测试
将调节杆置于全开位置,将管接头的出气口封堵。由进气口通入额定压力的压缩空气,保压 0.5min,应符合 1.2 的规定。判断泄漏的方法由制造商自选。
2.4 工作耐压测试
2.4.1 将调节杆置于全开位置,将管接头出气口封堵。
2.4.2 通入 1.5 倍额定压力的压缩空气,保压 2min,不应有任何可见的永久变形和外泄漏现象。
注:本测试项目也可用液体介质进行。
2.5 流量测试
2.5.1 控制流道的测试;
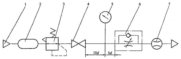
控制流道的流量测试回路原理图见图 2。

注:图中 d 表示配管内径。
1——气源;2——气管:3——减压阀:4——截止阀:5——压力表:6——被测件;7——流量计。
图 2 调速式气动管接头控制流道流量测试回路原理图
将被测件的调节杆置于全开位置,在控制流道进气口通入300kPa的持续压力,在出气口测定流量,应符合 1.5 的规定。
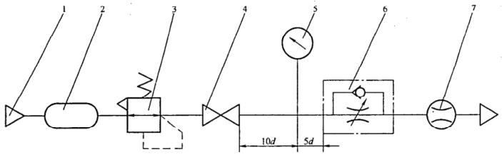
2.5.2 自由流道的测试:
自由流道的流量测试回路原理图见图 3。
将被测件的调节杆置于全闭位置,在自由流道进气口通入 300kPa 的持续压力,在出气口测定流量,应符合 1.5 的规定。
注:不带单向阀的调速式气动管接头无此项测试。
2.5.3 商务文件中所标志的管接头流量值为型式试验所测各件测试数据的平均值。测试数据之间的最大差值不应超过平均值的 10%。
2.6 节流特性测试
测试系统原理图见图 2。
将被测件调节杆置于全闭位置,在进气口通入 500kPa 的持续压力,然后逐渐打开调节杆,测定并记录流量值,直至全开为止。测试点不少于五点。以调节杆转数为横坐标,所测流量[单位dm³/min(ANR)]为纵坐标绘制曲线图,应符合 1.6 的规定。

注:图中 d 表示配管内径。
1——气源;2——气管;3——减压阀;4——截止阀;5——压力表;6——被测件:7——流量计。
图 3 调速式气动管接头自由流道流量测试回路原理图
2.7 拉拔分离性能测试
按 JB/T 7056 规定的方法测试。
2.8 外观测试
用目测法进行,应符合 1.7 的要求。
以上就是今天的分享!如果您对用于上述试验的调速式气动管接头性能试验装置感兴趣,欢迎与我们联系!