液压快速接头的真空试验方法简介
真空:一种物理现象,给定的空间内低于一个大气压力的气体状态。
真空试验目的:85% 额定负荷以上,真空泵抽真空,然后按照规定的方法测量单位时间内真空变化以确定液压快速接头的严密性。

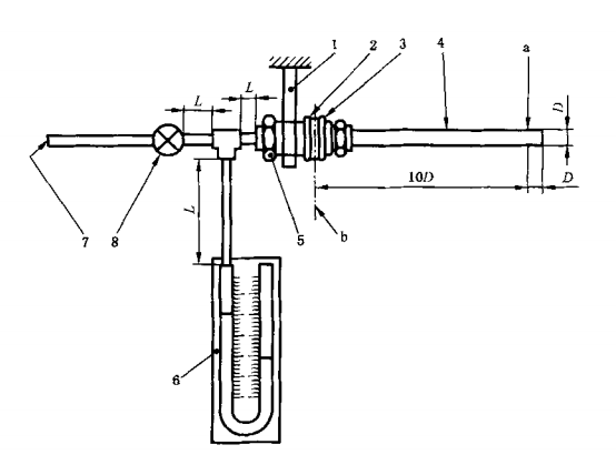
D=一接头公称通径(mm);L= 15D max;
1——固定阴接头的夹具;2——试验接头总成或阴、阳接头;3——阳接头;
4——连接到阳接头上不固定在夹具里的钢杆;
5——阴接头;6——压力计;7——接真空泵;8——阀;
a——50N 载荷垂直于接头中心线(仅对接头连接试验适用);b——锁定装置的中心线。
试验方法:
接头连接的真空试验:
1、按图 中 所示将接头总成安装在试验装置中,对接头总成施加侧向载荷。起动真空泵并使真空度达到规定的数值。
2、关闭阀并使其稳定 10min, 观察真空表下降的数值。
3、最后将真空表读数记录到试验报告中。
接头断开的真空试验(带阀接头)
1、按上图所示将阴、阳接头分别装人试验装置中,起动真空泵并使真空度达到规定的数值。
2、关闭阀门使其稳定 10min,观察真空表下降的数值。
3、最后将真空表读数记录到试验报告中。
真空检漏仪主要用于塑料袋、包装瓶子、密封罐等进行抽真空测试,采用将被测件放置到一个透明环境仓里,透明舱内部灌入 4/5 的清水,上部抽真空,当被测件有泄漏的情况下,由于负压的作用,被测件的内部空气会从内部泄漏出来,观察被测件泄漏情况通过气泡观察。进行判断被测件是否有泄漏。