液压快速接头的压力降试验方法:
压力降:延介质流动方向压力必须是降低的叫压力降。
试验介质要求:在整个压力降试验中,试验油液粘度保持 28.8mm²/s - 35.2 mm²。

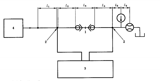
L1=接头管直径或管路直径的 10 倍;L2=接头管直径或管路直径的 5 倍;
L3=接头加上端部管件;L4=接头管直径或管路直径的 10 倍;L5=接头管直径或管路直径的 5 倍。
1——测试件;2——压力测试点;3——接到压差测量装置;4——控制液体供给量。
液压快速接头的压力降试验机原理图
1、如图所示将接头总成装入试验装置中。 选择额定流量的 25%~ 150%,至少六个试验流量值(必须包括额定流量的 100%)。
2、在选择的试验流量下按接头总成正反两个方向测定并记录压力降。
3、从试验装置上拆下接头总成,装上一支相应规格管件相适应的管子,按第一步,以相同的试验流量测定和记录压力降。
试验结果:
由第 2 步骤所测定的压力降减去按 第三步骤所测定的压力降,其差值即为接头总成净压力降。对每种流动方向在坐标纸上绘制压力降曲线。
如果在任何一种流量下,通过接头总成一个方向流动的压力降数值比通过接头总成另一方向流动的压力降数值少 10% ,则选用两值中的较大值。