橡胶和塑料软管及软管组合件 耐真空性能的测定方法-「亿威仕」

橡胶和塑料软管及软管组合件 耐真空性能的测定方法

0     编辑:亿威仕 | 市场部     2020-09-14    

今天给大家带来的分享是关于橡胶和塑料软管及软管组合件 耐真空性能的测定方法。如果你对用于该试验的真空性能试验装置感兴趣,欢迎与我们联系!电话:0755-8889 8859  QQ:459675648

1、试验原理

测定橡胶和塑料软管及软管组合件耐真空性能的试验方法是通过真空泵和压力表对一段长度软管降低内压,同时检查软管增强层或内衬层的所有变形或分层迹象。

2、试验装置

2.1 真空泵配有压力表

能在60s内将受试软管内部压力降到产品标准规定压力,并能至少保压 10min。

2.2 光滑的实心球(方法 A)

直径为受试软管内径的 0.9 倍,精确到整数毫米。

2.3 两个透明的气密封板(方法 B)

用于密封软管的每个端口,其中一个板能连接真空泵,同时可以目视检查试验软管内部。

3、试样

如果软管或软管组合件长度大于 1m,每个试样为元终端软管接头的最小 1m 长的软管;如果长度小于 1m,则使用整根软管或软管组合件。

4、试样的调节

在制造后 24h 之内不应进行试验。试验之前,试样应按 ISO 23529 在适合的温度下至少调节 3h;

注:该 3h 期间可构成制造与试验之间 24h 期间的一部分。

5、试验压力

试验期间软管的内压应为软管产品规范中规定的试验软管承受的最小内压。

6、试验程序

6.1 方法 A 试验程序

将软管尽可能直地放置在一平面上,将一端塞住,形成一气密密封。向软管内放入一个光滑实心球(3.2),然后将软管的开口端连接到真空泵和压力表上。在 60s 之内将软管的内压降至要求的试验压力,并保持该压力不少于 10min。

在保持试验压力的同时,检查软管外部是否有凹陷或塌瘪的迹象,然后倾斜软管,使实心球通过整根软管,以检查是否有因内部变形或分层而引起的任何阻塞。

6.2 方法 B 试验程序

将软管尽可能直地放置在一平面上,在软管的两端安装上透明的气密封板(3.3),其中一端连接到真空泵和压力表上。在 60s 之内将软管内压降至要求的试验压力,并保持该压力不少于 10min。

在保持试验压力的同时,用一端的透明板照明,通过另一端透明板检查软管内部有无脱层或起泡现象,还要检查软管外部有无凹陷或塌瘪现象。

6.3 方法 C 试验程序

将软管尽可能直地放置在一平面上,将一端塞住,形成一气密密封。将另一端连接到真空泵和压力表上。

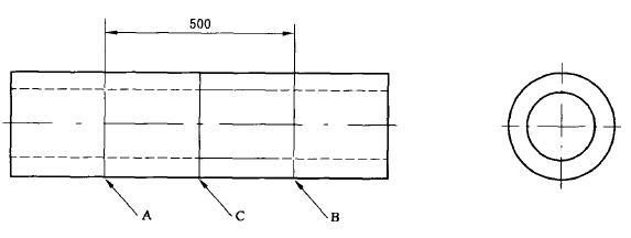
在降低软管内压力之前,与中心等距离处绕软管画两条直线(直线 A 和 B)(见图 1),间距 500mm,然后在 A 和 B 两条直线之间绕软管画第三条直线(直线 C)。按 GB/T 9573 2013 中 5.2 规定的方法沿直线 C 测量软管平均外径。

将软管压力降至要求的试验压力,并保持该压力不少于 10min 的要求期间。在 10min 或要求的试验时间后(两者取时间长者),于释放压力前,如前所述测量直线 A 和 B 之间的距离并沿直线 C 处测量软管平均外径。

释放压力,10min 后再一次测量直线 A 和 B 之间的距离,并沿直线 C 处测量软管平均外径。

单位为毫米
图 1 试样上标出的测量线示意图
说明:
A、B——试样上测量长度变化的标记线;
C——试样上测量外径变化的标记线。
图 1 试样上标出的测量线