用于油燃烧器的橡胶软管和软管组合件包括以下两种型别的软管组合件:
——1 型:用于流出和回流而非安装在油燃烧器泵与雾化连接件之间的软管组合件,最大工作压力 1.0MPa,最高油温 100℃;
——2 型:安装在油燃烧器泵与雾化连接件之间的软管组合件,工作压力 4.0MPa,最高油温 100℃。
今天我们来学习关于该型软管组合件压力脉冲循环试验的内容。
软管组合件当按如下规定的方法进行试验,完成 30 000 次脉冲之后应无泄漏或损坏。
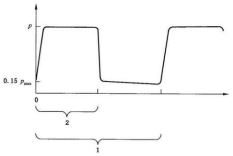
应取 2 根长度等于软管外径 20 倍(最小 250mm)的软管组合件进行试验。使每根组合件以(0.04±0.01)Hz 的频率承受内压力脉冲。压力循环应如图 1 所示。试验流体应为 ISO 1817 规定的 3 号油或 ISO 1436 规定的流体。每根软管组合件应以 8 倍于软管外径的半径弯曲 180°,安装在试验装置上。峰值试验压力和试验流体温度应符合表 1 的规定。
表 1 峰值试验压力和流体温度
| 试验参数 | 1 型 | 2 型 |
| 峰值试验压力 p | 1.5MPa(15bar) | 6.0MPa(60bar) |
| 试验流体温度 | 70℃ | 125℃ |

标引序号说明:1——1 个循环:2——0.5 个循环
图 1 压力脉冲循环
以上就是今天的分享!如果您对用于上述试验的软管组合件压力脉冲循环试验装置感兴趣,欢迎与我们联系!
