车用压缩氢气塑料内胆碳纤维全缠绕气瓶(以下简称气瓶)的耐久性试验:
随机抽取 1 只气瓶按图 1 进行耐久性试验。

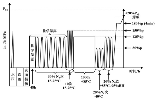
图 1 耐久性试验
1、水压试验
按规定进行水压试验,将气瓶加压至 1.5P 并保压至少 30s。制造单位已做过水压试验的气瓶可不进行此项试验。
2、跌落试验
气瓶按规定进行跌落试验。
3、裂纹容限试验
试验步骤如下:
a)先按规定对气瓶进行裂纹制备;
b)将气瓶在不高于 -40℃ 的环境中静置不少于 12h;
c)静置完成后应立即对气瓶按规定进行摆锤冲击。
4、环境试验
试验步骤如下:
a)按照规定进行化学暴露,气瓶的总浸渍时间应大于 48h,并保持气瓶内压为 1.25P,环境温度为(20±5)℃;
b)在循环压力下限为 2MPa、上限不低于 1.25P,环境温度为(20±5)℃ 条件下对气瓶进行压力循环,压力循环频率应不超过 6 次每分钟,循环次数为 0.6Nd。在进行最后 10 次循环前,应将压力上限升高为 1.5P,移走玻璃棉衬垫并用清水冲洗气瓶表面。
5、加速应力破裂试验
在温度不低于 85℃ 的环境中,将气瓶加水压至 1.25P,并在此温度和压力下静置 1000h。试验过程中应保持试验箱和气瓶表面的温度维持在规定温度。
6、极限温度压力循环试验
先将气瓶置于温度不高于 -40℃ 的低温环境中,在压力下限为(2±1)MPa、上限不低于 0.8P 的条件下进行压力循环试验,压力循环频率应不超过 6 次每分钟,循环次数为 0.2Nd,试验过程中应保证气瓶表面及瓶内试验介质的温度不高于 -40℃。再将气瓶置于温度大于或者等于 85℃、相对湿度为 95% 的环境中,在压力下限为(2±1)MPa,上限不低于 1.25P 条件下进行压力循环试验,循环次数为 0.2Nd,试验过程中应保证气瓶表面及瓶内试验介质的温度不低于 85℃。
7、常温静压试验
应将气瓶用液体加压至 1.8P,保压 4min,气瓶不得发生破裂。
8、剩余强度液压爆破试验
应按规定进行水压爆破试验。
9、合格指标
按规定进行水压试验、跌落试验、裂纹容限试验、环境试验、加速应力破裂试验和极限温度压力循环试验过程中,气瓶瓶体不得发生泄漏或破裂;在剩余强度液压爆破试验中,其爆破压力不得小于 0.8Pb0。