液氢阀门(以下简称"阀门")是一种公称压力不大于 PN160,压力等级不大于 Class900,采用真空夹套绝热措施和焊接连接的液氢用截止阀、止回阀、球阀、气动控制阀和易熔切断型紧急切断阀。
今天我们来学习关于该型阀门低温性能试验方法中内部冷却法低温性能试验方法的内容。内部冷却法低温性能试验装置示意图见图 1。

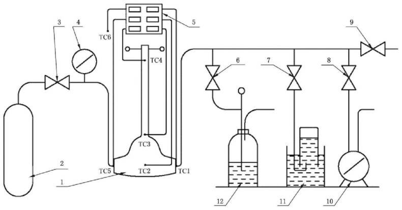
标引说明:
1——试验阀门;2——低温介质储罐;3——上游隔离阀;4——压力表;5——温度显示仪表;6——密封测试阀;
7——密封测试阀;8——密封测试阀;9——预冷泄出阀;10——流量计;11——集气检测器;12——酒精计泡器。
TC1——阀门出口连接处内部介质温度;TC2——阀体外壁温度;TC3——阀体加长颈下部外部温度;
TC4——填料函部位外部温度;TC5——阀门入口连接处内部介质温度;TC6——环境温度。
图 1 内部冷却法低温性能试验装置示意图
1、试验前准备
试验前应将阀门部件清洗、脱脂并干燥,试验环境应洁净、防尘、通风。
2、试验系统的绝热处理
低温介质贮存的容器和低温介质试验的管路、阀门等都应进行绝热处理。可采用抽空外层夹套的方法以获得不大于 0.013Pa 的真空绝热条件,也可采用聚氨酯发泡绝热,发泡厚度应不小于 100mm。
3、吹除和置换
开启试验阀门,用 0.2MPa 的氦气介质由进口端连续通过阀腔,置换阀腔内的空气,持续 1min~2min 后关闭试验装置的上、下游隔离阀。应确保低温试验结束前,试验阀门内部为氦气正压保护并与大气隔离,防止外部空气进入阀门内腔以及试验管路。
4、阀门的预冷
打开试验阀门,将冷却介质通入试验系统,开启预冷泄出阀,当温度传感器 TC1、TC2 的温度示值达到表 1 的规定并持续稳定 5min后,可认为预冷结束。温度传感器的设置部位按5.6.2.6规定。
表 1 低温试验温度要求

5、低压启闭动作性能和密封性能(止回阀不适用)
按下列步骤进行试验:
a)从试验阀门进口端通入试验压力为 0.2MPa 的低温介质,按规定的力矩启闭阀门 5 次;
b)完成最后一次开关动作后,按规定的力矩关闭试验阀门,将阀门入口压力稳定在 0.2MPa,保持 5min 后,关闭预冷泄出阀,打开密封测试阀,测量阀座的泄漏量。
6、高压密封性能(止回阀不适用)
按下列步骤进行试验:
a)从试验阀门进口端通入试验压力为最大允许工作压力的低温介质,按规定的力矩关闭试验阀门,保持 5min 后,关闭预冷泄出管,打开密封测试阀,测量阀座的泄漏量;
b)气动控制阀(切断型)高压密封性能试验压力为最大允许工作压差,执行机构的信号压力为设计规定输入信号压力;
c)气动控制阀(调节型)密封试验压力为 0.6MPa,气开式控制阀执行机构的信号压力应为零,气关式控制阀执行机构的信号压力为规定输入信号压力的上限值加 20%。
7、止回阀密封性能
预冷结束后,从出口端通入最大允许工作压力的测试介质,从进口端测量并记录阀座泄漏量。
8、低温带压启闭动作性能(止回阀不适用)
按下列步骤进行试验:
a)关闭低温试验装置出口端的密封测试阀,按顺序开启预冷泄出阀、试验阀门和上游隔离阀,从试验阀门进口端通入试验压力为不小于最大允许工作压力的 50% 的低温介质,然后关闭试验阀门,当试验阀门的出口端压力释放后,开启试验阀门,完成一次低温带压启闭动作性能试验操作;
b)按照步骤 a)要求循环操作,当使用液氮为冷却介质进行低温性能试验时,应进行 5 次低温带压启闭动作性能试验操作;当使用液氢或液氦为冷却介质进行低温性能试验时,应进行 100 次低温带压启闭动作性能试验操作;
c)进行低温带压启闭动作性能试验时,应检查阀门的动作灵活性并测量启闭阀门所需的最大操作力,最大操作力应符合4.3.9.3的要求;
d)低温带压启闭动作性能试验结束后,按照6的要求再次进行低温高压密封性能试验,试验结果应符合4.5.2的要求。
9、紧急切断阀动作性能
紧急切断阀应按照 GB/T 24918-2010 中 5.3 的要求进行动作性能试验,在试验时应对紧急切断阀的启闭时间进行测量。
10、低温逸散性
按下列步骤进行试验:
a)高压密封性能试验完成后,关闭预冷泄出阀和密封测试阀,将阀门部分开启,将压力升至最大允许工作压力,保压 5min,测量阀杆填料部位以及阀体与阀盖连接部位的泄漏量;
b)逸散性试验方法应按 GB/T 26481-2022 的规定执行。
以上就是今天的分享!如果您对用于上述试验的阀门低温性能试验装置感兴趣,欢迎与我们联系!
