进气压力电子旁通阀 Electronic By-Pass Valve,是指接收并执行内燃机电控单元(ECU)的信号指令,调节进气系统压力的旁通阀。
今天我们来学习关于内燃机进气压力电子旁通阀(EBV)功能特性试验方法的内容。
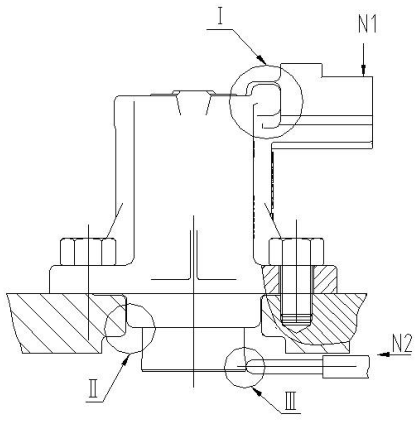
1、电器接口与导气嘴强度试验
在专用检测台上故定安装电子旁通阀,如图 1 所示:对电器接口施加垂直方向的压力 N1,该 N1 压力 ≤100N,检查电气接口在根部Ⅰ不应开裂或断裂。
用同样的方式对导气嘴边沿施加 N2 的推力,该 N2 推力 ≤50N,检查导气嘴边沿Ⅱ、Ⅲ区域不应无凹陷变形及损坏。

标引序号说明:
Ⅰ——插座与阀体连接区域;Ⅱ——阀芯口部区域;Ⅲ——导气嘴口部区域
图 1 电气接口与气嘴检测示意图
2、防护等级试验
电子旁通阀防尘等级试验:试验设备与试验方法按照 GB/T 4208-2017 中 13.4、13.6 规定的试验装置、试验条件进行 IP6X 试验。
电子旁通阀防水等级试验:试验设备与试验方法按照 GB/T 4208-2017 中 14.2.6、14.2.7 规定的试验装置、试验条件进行 IPX6/IPX7 试验。
接插件连接器密封试验:用匹配的端子与电子旁通阀接插口连接好,将连接好的电子旁通阀全部浸没在水中观察时间 5~10s,目测检查连接器部位不应有气泡出现,取出的电磁阀接插口无渗水现象,试后通电正常工作。
3、耐热等级试验
试验设备与试验方法按照 GB/T 2423.22-2012 中第 7 章试验 Na:规定转换时间的快速温度变化执行,试验严酷等级的规定,将电子旁通阀放置在高温环境试验箱中,温度设置按照 GB/T 2423.2-2008 中的 5.4 试验 Be 规定,对电子旁通阀进行高温试验:设定温度 180℃~200℃,转化时间 ≤3min,试验时间 100h。
4、启动特性试验
在专用检测试验台上安装电子旁通阀,安装并检查连接插头,正常后试验台供电电压:DC 12V,试验气源压力 0~1000KPa,利用调压装置设定 P1 与 P2 压力,通电运行电子旁通阀,检查其正常工作后测试:
a)检查导气嘴端面平整,阀芯工作符合要求;
b)调节气阀压差 △P(P2-P1)=0~240kPa,测试电子旁通阀启动与闭合时空载与满载负荷时的工作电压应符合要求;
c)在标准环境状态下,设定气压 △P(P2-P1)=240kPa,测试电子旁通阀通断电瞬时开启与闭合响应时间 t,响应时间 t 应符合要求。
5、工作噪声测试
按照 GB/T 33928 的现场测量方法将电子旁通阀安装在有隔声测噪间的专用试验台上,设定气压 △P(P2-P1)=240kPa,测试电子旁通阀工作时噪声。
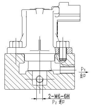
6、密封性试验
将电子旁通阀安装在专用工装上,如图 2 所示设置 P1、P2,调节ΔP(P2-P1)=240kPa,用泄漏仪测量阀门工作面泄漏量。

标引序号说明:
P1——试验出口压力 kPa;P2——试验进气压力 kPa
图 2 密封测试装置示意图
7、耐液体腐蚀试验
电子旁通阀和其导气嘴需分别进行耐液体腐蚀试验;
a)按照 GB/T 2423.30-2013 中规定的试验方法,选用含发动机机油、燃油、刹车油、制动液、防冻液、发动机清洗液等工业溶剂 3 种或 3 种以上组成的混合液,在常温下将电子旁通阀完全浸泡其中 72h 试验,试验后取出清洁表面(注意不应损伤表面),检查导气嘴与阀体无变形及缺陷,电子旁通阀能正常工作,表面标识和标签清晰可见;
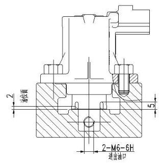
b)导气嘴侵泡机油试验:如图 3 在专用夹具上设置导气嘴侵泡在 2mm机油深度中工作,油温:15℃~120℃,驱动阀芯以 1Hz 频率工作,总计工作 25 万次。试验后电子旁通阀工作正常,再进行 6 的密封试验检查,密封面泄漏量限值按规定值+10%。

图 3 导气嘴耐油试验装置示意图
8、耐高压特性试验
将电子旁通阀连接与专用测试台上,连接好导线插座,按如下步骤设置试验:
a)长时且恒定电压试验,在室温 25℃ 的环境温度中,为电子旁通阀提供 DC 16V 的恒定电压持续工作 3h;
b)中等时长高电压试验,在室温 25℃ 的情环境中,为电子旁通阀提供 DC 19V 的电压持续工作 1h;
c)短时长高电压,在室温 25℃ 的环境温度中,为电子旁通阀提供 DC 24V 的最高电压持续工作 5min。
上述三步试验各步试验后检查电子旁通阀无元器件烧糊气味,表面无电击穿、破损等缺陷,电子旁通阀工作正常。
9、高低温特性试验
试验设备与试验方法按照 GB/T 2423.22-2012 中试验 Nb:规定变化速率的温度变化试验方法执行,试验严酷等级:将电子旁通阀放置在环境试验箱中,设定温度从常温降至(-40±3)℃ 后逐渐升至(180±3)℃,再逐渐降至(-40±3)℃,往复循环,温度变化速率(3±1)℃/min;
试验曲线如图 4,试验时间 24h。

图 4 高低温试验曲线
试验后电子旁通阀目测检查不应变形、开裂;通电检查工作正常。
10、冷热冲击试验
试验设备与试验方法按照 GB/T 2423.22-2012 中试验 Na:规定转化时间的快速温度变化执行,试验严酷等级:将电子旁通阀放置在不同环境试验箱中,低温箱温度为(-40±3)℃,高温箱温度设定为(200±3)℃,试验程序如下:
a)将电子旁通阀放置在低温度箱中放置 1h;
b)将电子旁通阀放置在高温度箱中 1h;
c)由低转高或由高转低的过程均需在 3min 内完成;
d)高、低温箱放置各循环 100 次,试验共计进行 200h。
试验后电子旁通阀目测检查不应变形、开裂;通电检查工作正常。
11、振动试验
试验设备与试验方法按照 GB/T 2423.10-2019 中第 8 章规定执行,试验严酷等级:室温下将电子旁通阀装夹在夹具上并固定在振动试验台上,电子旁通阀接通 DC 12V 电压,通、断电合计时长 1 秒/次,振动方向:X、Y、Z 三方向独立进行,扫频速率 1oct/min,振动频率如下:
a)从 30Hz-100Hz 之间变化,振动加速度 8g;
b)从 100Hz-400Hz 之间变化,振动加速度由 8g 逐渐递增到 40g;
c)从 400Hz-600Hz 之间变化,振动加速度 30g;
d)从 600Hz-3000Hz 之间变化,振动加速度 10g。
以上四步合计为一个周期,见图 5。
每个方向振动时长 50h,三个方向试验时长合计 150h。
试验后电子旁通阀目测检查不应变形、开裂;通电检查工作正常。

图 5 振动试验曲线
12、高低温交变耐久试验
试验设备与试验方法按照 GB/T 2423.22-2012 中试验 Nb:规定温度变化速率的试验方法执行,试验严酷等级,将电子旁通阀放置一个可快速调节温度的试验箱中,设定温度曲线见图 6,温度变化速率:3±1℃/min,试验时同时给电子旁通阀供气,压力 ΔP(P2-P1)=0~140kPa、通电 DC 12V(受温度影响允许电压在 8V~19V 之间波动),通、断时长各 0.5s 为一个循环;试验时间 24h 为一个循环,共计 50 个循环 1200h,阀芯工作 432 万次;试验后电子旁通阀工作正常。
试验后电子旁通阀目测检查不应损伤。

图 6 高低温交变耐久试验曲线
13、高温耐久试验
试验设备与试验方法按照 GB/T 2423.2-2008 中 5.4 的要求试验 Be 规定执行;首先将电子旁通阀放置在恒定 180℃ 温度箱内,试验 478h,随后再升至恒定 200℃ 温度,试验时间 24h;同时给电子旁通阀供气,压力 ΔP(P2-P1)=0~140kPa,通电 DC 12V(受温度影响允许电压在 8V~18V 之间波动),通、断时长各 0.5s 为一个循环;合计 502h 考核试验,阀芯工作 ≥172 万次无故障。
14、恒定湿热试验
试验设备与试验方法按照 GB/T 2423.34 规定的方法执行:
a)将电子旁通阀放置在温度(30±2)℃,相对湿度(85±3)%RH 环境箱中放置 24h 后取出,经 0.5h 相对湿度(73~77)%RH 恢复后擦干表面水迹;
b)将电子旁通阀放置在温度(65±2)℃,相对湿度(93±3)%RH 环境箱中放置 24h 后取出,经 0.5h 相对湿度(73~77)%RH 恢复后擦干表面水迹;
c)上述 48h 试验为一个循环,合计进行 5 个循环,共计 240h。
试验后检查导电部分与外露非导电部分之间绝缘电阻应符合规定。
15、自由跌落试验
按照 GB/T 2423.7 试验方法一:自由跌落的规定,对电子旁通阀产品按 1000mm 高度自由跌落于水泥地面三次,检查电子旁通阀不应有损伤;
对电子旁通阀包装按堆码高度进行跌落试验,试验以包装产品在 1.5m 高度自由跌落于水泥地面三次,检查产品防冲击损伤的程度,同时检查产品包装物对产品的保护,试后进行外观和检查。
16、盐雾试验
试验设备与试验方法按照 GB/T 2423.17-2008 规定,对电子旁通阀进行盐雾试验,溶液温度:(35±2)℃、浓度(5±1)%(质量百分比)、PH值:6.5~7.2,在专用实验箱试验时间 ≥720h。
17、瞬态电压传导(EMC)
试验设备与试验方法按照 ISO 7637-2 电源线瞬态传导干扰抗扰性试验的要求进行电子旁通阀工作时瞬态电压传导发射强度检测,与其连接的导线受电子旁通阀开闭工作瞬间而产生的快、慢变瞬态脉冲电压。