电站安全阀是一种用于火力发电站,以水蒸气为介质,工作压力小于或等于41MPa,工作温度小于或等于 625℃的弹簧式、杠杆式、先导式和带补充载荷的安全阀(包括锅炉、除氧器和高压加热器用安全阀)。
今天我们来学习关于该型安全阀动作性能试验方法的内容。
1、试验介质
安全阀动作性能试验的介质应为饱和蒸汽,与用户协商可采用空气或其他性质已知的气体代替。
2、一般要求
2.1 壳体强度试验合格后,才能进行安全阀动作性能试验。
2.2 动作件能试验是要确定在具体工作条件下,阀门动作前、排放中以及关闭时的下列特征:
a)整定压力;
b)排放压力;
c)回座压力或启闭压差;
d)动作性能重复件;
e)开启高度;
f)密封性;
g)机械特性。
2.3 压力参数为亚临界、超临界和超超临界的安全阀,当受试验设备条件限制时,在完成水压试验后、可采用等价弹簧法进行热态动作性能试验。试验合格后,采用空气或其他性质已知的气体作为试验介质进行实际弹簧的整定压力试验和密封性试验。
2.4 为确认安全阀动作性能的重复性,阀门动作次数应不少于 3 次。3 次整定压力的偏差应符合规定,启闭压差应符合规定,开启高度应符合规定。
2.5 安全阀的动作性能试验应按 GB/T 12241 和 GB/T 12242 的规定。
2.6 用目测或听觉法检查阀门的机械特性,应具有良好的回座能力和无频跳、颤振、卡阻或有害的振动等异常现象。
3、密封性试验
3.1 试验压力
安全阀密封试验压力应按表 1 的规定
表 1 安全阀密封试验压力
单位为 MPa
| 整定压力 ps | 密封试验压力 |
| ≤0.3 | ps-0.03MPa |
| >0.3 | 90%ps 或最低回座压力(取较小值) |
3.2 试验程序
安全阀整定合格后,再进行密封性试验。如采用等价弹簧法进行安全阀密封件试验,试验合格后,应用空气或其他性质已知的气体进行实际弹簧的密封性试验。
3.3 蒸汽密封性试验
安全阀整定合格后,降低进口压力用适当的方法(如用空气吹干等)完全排除腔整内可能存在的冷凝液。将安全阀进口处蒸汽压力升至密封试验压力,并至少保力 3min,按规定检查阀门密封性。
3.4 空气或其他气体密封性试验
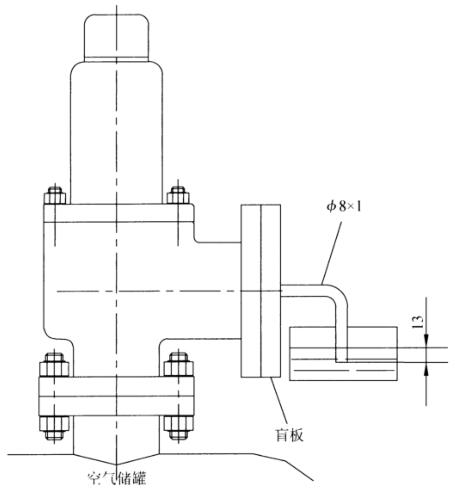
3.4.1封闭式安全阀阀座密封性试验装置如图 1 所示。除漏气引出管外,安全阀的其他部位应同外界处于完全密闭状态。漏气引出管为 φ8*1mm,其出口端应平行于水面并低于水面 13mm。当安全阀入口介质达到密封试验压力时,对泄漏气泡开始计数前,试验压力的最短持续时间按表 2 的规定。然后在试验压力下观察并统计泄漏的气泡数,至少持续 1min。

图 1 封闭式安全阀阀座密封性试验装置
表 2 试验压力的最短持续时间
| 公称尺寸 DN | 试验压力的最短持续时间,min |
| ≤50 | 1 |
| >50〜100 | 2 |
| >100 | 5 |
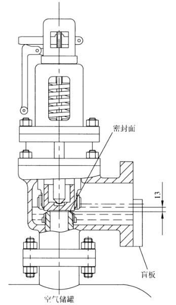
3.4.2 不封闭式安全阀阀座密封性试验装置如图 2 所示。将安全阀出口用盲法兰部分封闭,向阀体中腔内注水并使水面高于阀座密封面 13mm。当安全阀入口介质达到密封试验压力时,对泄漏气泡开始计数前,试验压力的最短持续时间按表 2 的规定。然后在试验压力下通过出口法兰敞开部分观察并统计泄漏的气泡数,至少持续 1min。

图 2 不封闭式安全阀阀座密封性试验装置
3.5 主安全阀试验
先导式安全阀的主安全阀可采用洁净水(水温为 5℃〜50℃)进行密封性试验,试验压力为实际工作压力。试验时,水压升速须缓慢均匀,达到密封试验压力时,至少保压 2min,密封面应无可见的泄漏。
以上就是今天的分享!如果您对用于上述试验的电站安全阀动作性能试验装置感兴趣,欢迎与我们联系!
