今天给大家带来的分享是关于电缆径向水密性测试方法的试验设备及试验步骤的内容。适用于有径向阻水要求的水上光伏类电缆、浅海湖泊类电缆、橡套类电缆,其他类电缆产品或类似性能要求的装备可参照采用。
1、试验设备
1.1 电缆水密加压测试机
1.1.1 组成
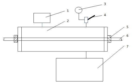
电缆水密加压测试机主要组成包括压缸主体、加压装置、减压阀、压力表、控制显示器、密封模具等。该试验装置示意图如图 1 所示。

1——控制显示器;2——压缸主体;3——压力表;4——减压阀;5——密封模具;6——试样;7——加压装置。
图 1 电缆水密加压测试机示意图
1.1.2 要求
压缸主体提供一个密封的加压浸水环境,压缸主体内部有效恒压空间的长度不小于 1m,本试验采用的电缆水密加压测试机的压缸容积为 80L,适用于电缆样品直径范围为 7.0mm~50mm。对于产品标准或客户要求有超出该范围的测试条件时,可对设备进行改进。
加压装置可采用油泵加压方式,也可采用其他方式实现,以满足 1.0MPa~10.0MPa 的压力要求(模拟 1000m 以内水深压力)。
1.1.3 绝缘电阻测试仪
本文件采用测量范围 105Ω~1017Ω 的绝缘电阻测试仪测量电缆线芯的绝缘电阻值,绝缘电阻测试应符合 GB/T 3048.5-2007 标准规定。
2、试验步骤
2.1 2h 短期径向加压水密性试验步骤
2.1.1 将试样通过密封模具固定在压缸主体中。电缆两端通过密封模具伸出压缸主体外,露出密封模具两端部分长度不应小于 150mm,密封模具中加入密封填料进行密封。
2.1.2 调节进水阀,使压缸主体装满温度为(20±5)℃的自来水,压缸主体内部中的电缆全部浸入水中。
2.1.3 调节控制显示器,设置压缸主体内水压,使压缸主体内水压升至 3.0MPa,稳定后,设置试验时间。常规设置压缸主体内水压为 3.0MPa,试验时间至少 2h。
2.1.4 试验结束后,在保持压力 3.0MPa 的条件下,测量绝缘线芯绝缘电阻,计算绝缘线芯每公里长度绝缘电阻。
2.1.5 试验过程中,观察所测试样电缆两端头是否有潮湿或滴水现象。
2.1.6 在试验结束后,取出电缆试样,擦拭干净后切开电缆的护层,观察绝缘线芯表面或填充等电缆其他组分是否有潮湿或水分。
2.1.7 可根据产品标准规定或客户要求,调整恒压容器内水压及试验时间。
2.2 10d 长期径向加压水密性试验步骤
2.2.1 将制备的试样通过密封模具固定在压缸主体中,并记录压缸主体内试样长度。电缆两端通过密封模具伸出压缸主体外,露出密封模具两端部分应不小于 200mm,且保持露出的绝缘表面干燥、洁净,密封函中加入密封填料进行密封。
2.2.2 小心地剥除试样两端 50mm 左右处绝缘外的覆盖物,并注意不损伤绝缘表面。使用绝缘电阻测试仪测试绝缘线芯的绝缘电阻值,计算绝缘线芯每公里长度绝缘电阻。并记录初始每公里长度绝缘电阻、测试温度及测试时间。
2.2.3 通过调节进水阀,使压缸主体装满温度为(20±5)℃ 的自来水,压缸主体内部中的电缆全部浸入水中。
2.2.4 调节控制显示器,设置压缸主体内的水压,将压缸主体内水压升至 3.0MPa,稳定后,设置试验时间。常规设置压缸主体内水压为 3.0MPa,设置试验时间至少 10d。
2.2.5 待水压稳定后,使用绝缘电阻测试仪测试绝缘线芯的绝缘电阻值,计算绝缘线芯每公里长度绝缘电阻,并记录数值、测试温度及测试时间,每经过24h,测试一组数据并记录。
2.2.6 试验结束后,在保持压力 3.0MPa 的条件下,测试绝缘线芯的绝缘电阻值,计算绝缘线芯每公里长度绝缘电阻。
2.2.7 试验过程中,观察所测试样电缆两端头是否有潮湿或滴水现象。
2.2.8 在试验结束后,取出电缆试样,擦拭干净后切开电缆的护层,观察绝缘线芯表面或填充等电缆其他组分是否有潮湿或水分。
2.2.9 可根据产品标准规定或客户要求,调整恒压容器内水压及试验时间。
