固井胶塞翻转压力及防回压能力的试验方法-「亿威仕」

固井胶塞翻转压力及防回压能力的试验方法

0     编辑:亿威仕 | 市场部     2024-01-19    

石油天然气注水泥作业用固井胶塞包括常规固井胶塞(包括上、下胶塞,上、下复合胶塞)、分级固井胶塞(包括挠性塞、二级胶塞、关闭胶塞)、尾管固井胶塞(包括钻杆胶塞及复合钻杆胶塞、尾管胶塞及复合尾管胶塞)、水下释放固井胶塞(包括上、下钻杆胶塞,上、下套管胶塞)等,今天我们来学习固井胶塞翻转压力回压能力试验方法的内容。

1、翻转压力

1.1 胶塞翻转压力试验示意图见图 1。碰压座应有旁通孔,结构应与胶塞相配套适用。

1.2 将胶塞装入规定尺寸的试验套管内,碰压座装入下试压帽内,试验套管下端与下试压帽连接,试验套管上端与上试压帽连接。

1.3 开启试压泵,从加压口泵入流体,加压直至胶塞唇片翻转,流体经胶塞侧边通过,试验最高压力为翻转压力。

1.4 拆卸试验套管两端试压帽,检查胶塞与碰压座接触情况,检查胶塞唇边形态。从试验套管下端缓慢取出胶塞,胶塞取出过程应避免撞击且不应反向。

1.5 检查胶塞形态并记录试验结果。

1.6 有温度要求的胶塞,应按 1.2 要求连接试验工装,将试验工装放入加热装置中,加热至按规定的试验温度和规定的保温时间,按 1.3 要求试验,待试验工装冷却后,按 1.4 至 1.5 要求试验。

图 1 翻转压力试验示意图a图 1 翻转压力试验示意图b
a)常温试验 b)工作温度试验

标引序号说明:

1——试压泵/钻井液泵;2——加压口;3-——上试压帽;4——试验流体;5——试验套管;

6——胶塞;7——碰压座;8——下试压帽;9——加热液体;10——加热装置。

图 1 翻转压力试验示意图

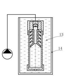
2、防回压能力

2.1 复合试验

2.1.1 自锁胶塞复合试验示意图见图 2a)。碰压座结构应与胶塞相配套适用。

2.1.2 将胶塞装入规定尺寸的试验套管内,碰压座装入下试压帽内,试验套管下端与下试压帽连接,试验套管上端与上试压帽连接。

2.1.3 使用机械加载或试验流体加压的方法,从胶塞上端加载或加压直至胶塞进入碰压座并与其完全复合,试验最高载荷或压力为复合载荷(压力)。

2.2 防回压试验

2.2.1 自锁胶塞防回压试验示意图见图 2b)或图 2c)。

2.2.2 开启试压泵,从下加压口泵入流体,加压至规定压力,按规定时间稳压,停泵。

2.2.3 拆卸试验套管两端试压帽,从试验套管下端缓慢取出胶塞。胶塞取出过程应避免撞击且不应反向。

2.2.4 检查胶塞头与碰压座接触情况,检查胶塞形态并记录试验结果。

2.2.5 有温度要求的胶塞,应按按 2.1 复合后,将试验工装放入加热装置中,加热至按规定的试验温度和规定的保温时间,按 2.2.2 要求试验,待试验工装冷却后,按 2.2.3 至 2.2.4 要求试验。

图 2 防回压能力试验示意图a图 2 防回压能力试验示意图b图 2 防回压能力试验示意图c
a)复合试验 b)常温防回压试验 c)工作温度防回压试验

标引序号说明:

1——试压泵/钻井液泵;2——机械加载;3——上加压口;4——上试压帽;

5——试验套管;6——胶塞;7——密封圈;8——锁环;

9——碰压座;10——下试压帽11——下加压口;12——试验流体;

13——加热液体;14——加热装置。

图 2 防回压能力试验示意图


以上就是今天的分享!如果您对用于上述试验的固井胶塞翻转压力及防回压能力试验装置感兴趣,欢迎与我们联系!