固井胶塞穿透压力及密封压力的试验方法-「亿威仕」

固井胶塞穿透压力及密封压力的试验方法

0     编辑:亿威仕 | 市场部     2024-01-18    

石油天然气注水泥作业用固井胶塞包括常规固井胶塞(包括上、下胶塞,上、下复合胶塞)、分级固井胶塞(包括挠性塞、二级胶塞、关闭胶塞)、尾管固井胶塞(包括钻杆胶塞及复合钻杆胶塞、尾管胶塞及复合尾管胶塞)、水下释放固井胶塞(包括上、下钻杆胶塞,上、下套管胶塞)等,今天我们来学习固井胶塞穿透压力及密封压力试验方法的内容。

1、穿透压力

固井胶塞的穿透压力试验分为:静压穿透压力试验和动压穿透压力试验。

1.1 静压穿透压力

1.1.1 下胶塞穿透压力试验示意图见图 1。碰压座应有过流孔,过流孔直径不小于 46mm,且不大于芯部孔径。

1.1.2 将下胶塞装入规定尺寸的试验套管内,碰压座装入下试压帽内,试验套管下端与下试压帽连接,试验套管上端与上试压帽连接。

1.1.3 开启试压泵,从加压口泵入试验流体,将下胶塞缓慢泵送至碰压座,继续加压直至液体穿透胶塞,试验最高压力为静压穿透压力。

1.1.4 如果后续不需要进行其他试验,则拆卸试验套管两端试压帽,检查下胶塞与碰压座接触情况,确认胶塞已破裂。从试验套管下端缓慢取出下胶塞,下胶塞取出过程应避免撞击且不应反向。

1.1.5 检查胶塞隔膜破裂形态并记录试验结果。

1.1.6 有温度要求的下胶塞,应按 1.1.2 要求连接试验工装,将试验工装放入加热装置中,加热至规定的试验温度和规定的保温时间,按 1.1.3 要求试验,待试验工装冷却后,按 1.1.4 至 1.1.5 要求试验。

图 1 穿透压力试验示意图a图 1 穿透压力试验示意图b
a)常温试验b)工作温度试验

标引序号说明:

1——试压泵/钻井液泵;2——加压口;3-——上试压帽;4——试验流体;

5——试验套管;6——下胶塞;7——碰压座;8——下试压帽;

9——加热液体;10——加热装置

图 1 穿透压力试验示意图

1.2 动压穿透压力

1.2.1 下胶塞动压穿透压力试验示意图见图 1,试验套管长度应不小于一根套管的长度。

1.2.2 将下胶塞装入规定尺寸的试验套管内,碰压座装入下试压帽内,试验套管下端与下试压帽连接,试验套管上端与上试压帽连接。

1.2.3 开启钻井液泵,从加压口泵入试验流体,调节泵排量逐步升至规定排量,加压直至液体穿透胶塞,试验最高压力为动压穿透压力。

1.2.4 如果后续不需要进行其他试验,则拆卸试验套管两端试压帽,检查下胶塞与碰压座接触情况,确认胶塞已破裂。从试验套管下端缓慢取出下胶塞,下胶塞取出过程应避免撞击且不应反向。

1.2.5 检查胶塞隔膜破裂形态并记录试验结果。

1.2.6 有温度要求的下胶塞,应按 1.2.2 要求连接试验工装,将试验工装放入加热装置中,加热至规定的试验温度和规定的保温时间,按 1.2.3 要求试验,待试验工装冷却后,按 1.2.4 至 1.2.5 要求试验。

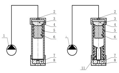
2、密封压力

2.1 胶塞密封压力试验示意图见图 2。碰压座应有过流孔,结构应与胶塞相配套适用。可以使用 1 试验后未取出下胶塞的试验工装。

2.2 将胶塞装入规定尺寸的试验套管内,碰压座装入下试压帽内,试验套管下端与下试压帽连接,试验套管上端与上试压帽连接。上胶塞和上套管胶塞可以装入 1 试验后未去取下胶塞的试验套管中,试验套管上端与上试压帽连接。

2.3 开启试压泵,从加压口泵入试验流体,加压至规定压力,最高试验压力应不超过规定压力的 3%,按规定时间稳压后,停泵。

2.4 拆卸试验套管两端试压帽,从试验套管下端缓慢取出胶塞。胶塞取出过程应避免撞击且不应反向。

2.5 检查胶塞形态并记录试验结果。

2.6 有温度要求的胶塞,应按 2.2 要求连接试验工装,将试验工装放入加热装置中,加热至规定的试验温度和规定的保温时间,按 2.3 要求试验,待试验工装冷却后,按 2.4 至 2.5 要求试验。

图 2 密封压力试验示意图a图 2 密封压力试验示意图b
a)常温试验b)工作温度试验

标引序号说明:

1——试压泵/钻井液泵;2——加压口;3-——上试压帽;4——试验流体;

5——试验套管;6——胶塞;7——碰压座;8——下试压帽;

9——加热液体;10——加热装置11——下胶塞

图 2 密封压力试验示意图


以上就是今天的分享!如果您对用于上述试验的固井胶塞穿透压力试验装置和密封压力试验装置感兴趣,欢迎与我们联系!