今天给大家带来的分享是关于汽车用机油滤清器(以下简称滤清器)气压密封性及耐静压破损试验方法的内容,方法适用于额定体积流量小于 200L/min 的汽车发动机用滤清器 , 额定体积流量大于 200L/min的滤清器可参照使用。
1、气压密封性试验
本试验目的是检验滤清器是否渗漏,适用于全流和分流式滤清器。
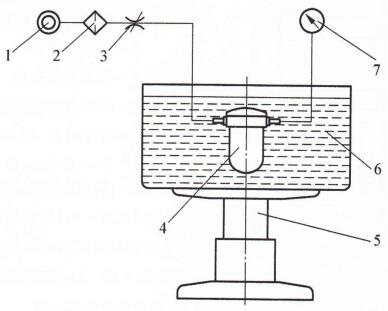
1.1 试验设各及仪器、仪表、器具见图 1。
1.2 被试滤清器的类型及其在试验台上的安装。
1.2.1 旋装式滤清器(不带滤座)的安装。
a)将滤清器安装到图 2 所示的旋装式滤清器典型试验滤座上,组成被试滤清器组件,用螺塞堵住进油测压孔、滤芯出油测压孔和出油连接孔。
b)将被试滤清器组件安装到图 1 所示的被试滤清器的位置,并将进油连接孔接气源,将出油测压孔接压力表。
1.2.2 旋装式滤清器总成(带滤座)和可更换滤芯的滤清器总成(带滤座)的安装。将被试滤清器总成安装到图 1 所示的被试滤清器的位置,入口端接气源,出口端接压力表。

1——气源;2——气源空气滤清器;3——调节阀;4——被试滤清器;
5——水槽升降器;6——水槽;7——压力表(量程 1 MPa)
图 1 气压密封试验的试验装置
1.3 试验程序。
1.3.1 检查被试滤清器是否已按 1.2 的要求安装完毕。
1.3.2 升高水槽,将被试滤清器组件沉入水中。
1.3.3 打开调节阀,当压力达到规定值后保压时间不少于 30s,目测被试滤清器有无气泡逸出。
![]() | 1——进油测压孔 A 直接设在进油道上; 2——进油连接孔; 3——滤芯出油测压孔 C; 4——出油连接孔; 5——出油测压孔 B; 6——端面尺寸和螺纹与被试验滤清器相配; 7——管子外径 φ3mm,内径 φ31.5mm。 * 为 d=10mm、 14mm、 24mm或 28mm,按滤清器出口直径而定 |
图 2 旋装式滤清器的典型试验滤座
1.4 试验原始记录。
试验原始记录至少包括下列内容:
a)滤清器名称、型号和制造单位;
b)注人气体压力,单位为 kPa;保压时间,单位为 s;
c)滤清器有无渗漏,如有渗漏应记录渗漏部位;
d)试验人员和试验日期。
2、滤清器耐静压破损试验
本试验的目的是测定滤清器承受内压力的能力,适用于全流滤清器和分流滤清器。
2.1 试验设各及仪器、仪表、器具。
试验室用手动液压泵和被试滤清器连接用的接头。
压力表:量程0MPa~2.5Mh,精度 1.5 级。
2.2 试验油采用 CC30-GB11122 柴油机油,试验油温度为室温。
2.3 试验程序。
2.3.1 将被试滤清器按要求与手动泵连接,油泵出油口与滤清器的进油口连接,使滤清器的出油口朝上并敞开。
2.3.2 启动手动泵将试验油打进滤清器,待排出空气后堵住滤清器的出口。
2.3.3 启动手动泵使滤清器内压升至 100kPa,保压 1min,检查滤清器有无渗漏或其他异常现象。
2.3.4 打开油泵泄压阀,使内压力降至零,30s 后检查有无永久变形或其他形式的缺陷。
2.3.5 关闭泄压阀,启动手动泵使滤清器内压上升。在内压力每增加 100kPa、保压 1min 后检查滤清器有无渗漏或其他异常现象。
2.3.6 持续试验到最终破损(破裂或泄漏),或内压力达到 1500kPa 为止。
2.4 试验原始记录至少包括下列内容:
a)被试滤清器名称、型号和制造单位;
b)破损压力,单位为 kPa,或压力到 1500kPa 未损坏;
c)被试滤清器状况:是新的还是使用过的,若是用过的,使用时间约为多长;
d)试验人员和试验日期。
以上就是今天的分享!如果您对用于上述试验的汽车用机油滤清器气压密封性试验装置及耐静压破损试验装置感兴趣,欢迎与我们联系!
