今天给大家带来的分享内容是高温高压条件下可燃气体(蒸气)爆炸极限测定方法。
方法适用于初始温度 200℃以下,初始压力 1.0MPa(绝对压力)以下,且最大爆炸压力不大于 15.0MPa(绝对压力)条件下可燃气体(蒸气)爆炸极限的测定。
试验原理:
在给定的初始温度和初始压力条件下,将一定体积分数的可燃气体(蒸气)与空气预先混合于爆炸反应容器内,以电火花或电热丝进行引燃,通过爆炸压力的升高值(不小于给定初始压力的5%)来判断是否发生爆炸,系统地改变可燃气体(蒸气)的浓度直至测得发生爆炸的最低、最高浓度。
试验步骤:
警示——爆炸反应容器严禁带压进行拆卸操作。
1、试验准备
1.1 对于未知或混合物的待测样品,试验前应先确定待测样品常温常压下可燃气体的爆炸极限,以预估待测定高温高压条件下可燃气体的爆炸极限。常温常压下可燃气体爆炸极限的测定按照 GB/T 12474 或 GB/T 21844 规定的试验方法。高温常压条件下可燃气体(蒸气)的爆炸极限按照 GB/T 21844 规定的试验方法进行测定。
1.2 试验前应清洗干燥试验装置和气体连接管路。
注:若装置残留油脂和其他可燃物,可能影响测试结果,同时增加爆炸风险。
1.3 爆炸反应容器气密性采用负压检测,抽真空至 0.04MPa(绝对压力),5min 内压力上升应不大于 300Pa。
1.4 使用惰性气体或压缩空气吹扫试验装置及管路并排空。
1.5 测试过程中不应使用氧化性比空气强的气体作为稀释剂。
2、常温高压条件下爆炸极限的测定
2.1 依照待测样品常温常压下的爆炸极限数据,采用逐步升压方法进行测定。升压级差应不高于 0.1MPa。测试过程中混合气体的最大爆炸压力接近爆炸反应容器的最大工作压力时,应立即停止测定试验。
2.2 试验设定初始压力和可燃气体(蒸气)的体积分数,打开低压量程压力传感器并开始记录,采用分压法确定待测样品的分压值,此过程爆炸反应容器内温度应稳定在试验设定初始温度 ±2℃ 以内。
2.3 充入待测样品前,应以惰性气体或空气吹扫连接管路并抽真空,确保管路内无残留可燃气体(蒸气)。
2.4 待测可燃气体样品充入爆炸反应容器完毕后,快速充入压缩空气至试验设定初始压力,此过程爆炸反应容器内温度应稳定在试验设定初始温度 ±2℃ 以内。打开无油搅拌装置搅拌 5min,使爆炸反应容器内可燃气体与空气混合均匀。若测定多种不同浓度可燃气体混合气时,按待测可燃气体浓度从低到高依次充入爆炸反应容器内至设定分压值。
2.5 关闭低压量程压力传感器与爆炸反应容器连接管路上的保护阀。
2.6 打开高压量程压力传感器,用于记录爆炸反应容器内压力。
2.7 混合搅拌结束静置 2min 后点火,高压量程压力传感器测定并记录点火后爆炸反应容器内压力随时间变化值,对比点火前后最大爆炸压力变化情况,依据规定分析判断是否发生爆炸。
2.8 点火测试后,打开爆炸反应容器内排气阀,释放试验废气至室外,并以惰性气体吹扫爆炸反应容器和相应管路,吹扫次数不少于 5 次。
2.9 重复 2.1~2.8 的试验步骤,用渐进法确定爆炸极限值。测定爆炸下(上)限时,如果在某浓度下未发生爆炸现象,则增大(减小)可燃气体(蒸气)浓度直至测得能发生爆炸的最小(大)浓度;如果在某浓度下发生爆炸现象,则减小(增大)可燃气体(蒸气)浓度直至测得不能发生爆炸的最大(小)浓度。测定接近爆炸下限时待测样品改变量每次不大于上次进样量的 10%,测定接近爆炸上限时改变量每次不大于上次进样量的 2%。如果某种气体充入后压力或温度不稳定,波动较大,表明点火前可能已发生了反应,应立即停止试验。卤素类反应可引起压力下降,氧化反应可引起压力上升。
2.10 测试得到可燃气体(蒸气)爆炸下限附近出现爆炸的最低浓度 L1 和未爆炸的最高浓度 L2,且 L2 低于 L1,L2 与 L1 的差值不大于体积分数 0.2%,L2 浓度下重复测试 3 次以确保在此浓度下不会发生爆炸。
2.11 测试得到可燃气体(蒸气)爆炸上限出现爆炸的最高浓度 U1 和未爆炸的最低浓度 U2,且 U2 高于 U1,U2 与 U1 的差值不大于 U1 的10%,U2 浓度下重复测试 3 次以确保在此浓度下不会发生爆炸。
2.12 试验结束后要及时清理爆炸反应容器内积碳或其他残留物。
3、高温高压条件下爆炸极限的测定
3.1 按照 GB/T 21844 规定的测定方法采用逐步升温法测定待测可燃气体(蒸气)的常压高温状态的爆炸极限,升温级差应不高于 50℃。测试过程中混合气体的最大爆炸压力接近爆炸反应容器的最大工作压力时,应立即终止测定试验。
3.2 将爆炸反应容器及相关部件预热至试验设定初始温度并保持恒温。若待测样品为液体蒸气,则应将盛液容器预热至试验设定初始温度,连接管路应加温保护,并实现进样远程控制。
3.3 将试验装置及相关部件预热至设定初始温度后,按照 2.1~2.11 的步骤进行试验测定。
以上就是今天的分享!如果您对用于上述试验的高温高压爆炸极限试验装置感兴趣,欢迎与我们联系!

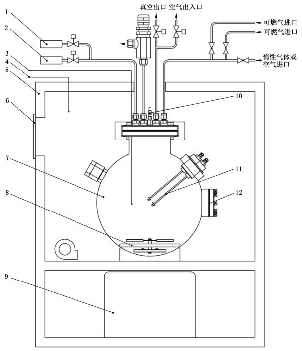
标引序号说明:
1——压力传感器 1;2——压力传感器 2 ; 3——待测样品温度传感器;4——加热室温度传感器;5——加热室;6——泄压门;
7——爆炸反应容器;8——搅拌叶片;9——磁力搅拌器;10——爆炸压力传感器;11——点火电极;12——观察视窗。
图 1 高温高压爆炸极限试验装置示意图