今天给大家带来的分享是关于管接头耐压和爆破试验的方法。这里的管接头是指液压传动中使用的各类钢管连接、螺柱端连接和法兰连接的管接头。其耐压和爆破的试验要求如下。
1、耐压试验
1.1 通则
除非在相应标准中另有规定,应对 1 型试验组件,2 型、3 型和 4 型试验组件(适用时)各 3 个进行试验,以确定管接头在至少 2 倍的最高工作压力下没有任何可见的泄漏。
1.2 步骤
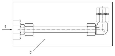
如图 1 所示,应按表 1 的规定对试验组件进行加压。在施加静态压力前,应排尽试验组件中的空气。

标引序号说明:1——试验介质进口;2——空气。
图 1 耐压试验和爆破试验的典型试验装置
表 1 耐压试验的参数和步骤
试验参数 | 参数值和试验步骤 |
试验介质 | 符合 ISO 6743-4 黏度不高于 ISO 3448 的 ISO VG 32 的液压油(如 HM);或水 试验介质应记录在试验报告中 |
试验压力 | 2 倍管接头最高工作压力,适用时,按照相应标准的规定 应以每秒不超过管接头最高工作压力 16% 的速率增加压力,直至达到试验压力 |
试验持续时间 | 试验组件应在试验压力下至少保持 60s |
判定标准 | 在试验期间,所有试验组件应无泄漏或其他失效 |
1.3 被试件的再利用
经过该项试验的被试件可用于爆破试验,但不应用于实际使用或返回库存。
2、爆破试验
2.1 通则
除非在相应标准中另有规定,应对 1 型或 3 型试验组件,2 型、4 型试验组件(适用时)取 3 个进行试验,以确定管接头至少能够承受其 4 倍的最高工作压力。
2.2 步骤
如图 1 所示,应按表 2 的规定对试验组件进行加压。
表 2 爆破试验的参数和步骤
试验参数 | 参数值和试验步骤 |
试验介质 | 符合 ISO 6743-4 黏度不高于 ISO 3448 的 ISO VG 32 的液压油(如 HM);或水 试验介质应记录在试验报告中 |
试验压力 | 最低试验压力应为 4 倍的管接头最高工作压力,按照相应标准 应以每秒不超过管接头最高工作压力 16% 的速率增加压力 |
试验持续时间 | 达到规定的最低试验压力或持续到管接头泄漏为止(如有必要) |
判定标准 | 在最低试验压力以下,试验组件应无泄漏 |
2.3 被试件的再利用
经过该项试验的被试件不应再做其他试验,也不应用于实际使用或返回库存。
以上就是今天的分享!如果您对用于上述试验的管接头耐压爆破试验机感兴趣,欢迎与我们联系!
