内燃机车用橡胶接头(全称是内燃机车用可曲挠橡胶接头,以下简称“接头”),其工作压力通常小于或等于 1.5MPa。今天我们来学习关于该型接头的压力(静压与爆破)试验的内容。
一、性能指标
a)静压试验:2 倍工作压力无异常现象;
b)爆破:不低于 4 倍工作压力。
二、试验程序及方法
2.1 试验要求:
升压速度应是恒定的,对公称内径小于或等于 50mm的接头应在 30s〜60s 之间达到最终压力。对于公称内径大于 50mm 而小于或等于 250mm的接头,其达到最终压力所需时间应在 60s〜240s 之间。对于公称内径大于 250mm 的接头,达到最终压力所需要的时间应由制造厂和使用者决定。
2.2 静压试验:
当用验证压力试验检査接头是否泄漏时,应按照规定(规定见文尾附1)施加验证压力并保持这个压力 30s〜60s,除在产品标准中另有规定外,此期间应检验试样有无表明材料和加工不均匀的泄露、裂口、急剧变形现象或其他破坏的迹象。
除非软管另有规定,验证压力应参照 ISO 7751 中给出的最大工作压力的比率。
注1:此处使用的术语“最大工作压力”代替拒用术语“设计工作压力”。
2.3 爆破试验:
按照规定(规定见文尾附1)的速度升高压力,直至接头破坏,在试验报告中应记录下接头爆破的位置和状态。
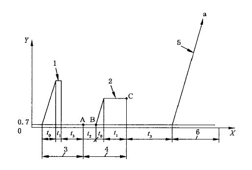
试验步骤的说明,见下图 1。

说明:
X——时间,t;Y——压力,p(MPa 或 bar);
1——验证压力;2——试验压力;3——泄露和缺陷的检测;
4——测量;5——爆破压力;6——爆破;
t0——规定压力增加时间;t1——规定压力保持时间;
t2——在参考压力(0.07 MPa)下初始尺寸(长度和直径)时测量时间;
t3——不同压力下规定的等待时间;
a——爆破。
此完整试验程序(验证压力-试验压力-爆破压力)仅适用于“型式试验”。对于例行试验,验证压力后的“测量结果”仅适用于当相关软管接头制品标准有规定时。
图 1 标准规定的静液压试验程序
以上就是今天分享的内容。如果您对于上述试验所需的软胶接头静压爆破试验机感兴趣,欢迎与我们联系!
