馨提示:软管总成耐久性(脉冲)试验是一种破坏性试验,试验后的软管总成应报废。如您需要了解软管总成耐久性(脉冲)试验装置,请与我们联系,电话:0755-8889 8859 QQ:459675648.
软管总成耐久性(脉冲)试验方法按以下步骤进行:
1、应在安装接头后的30天内,且未使用的软管总成进行此项试验。
2、计算在试验下的软管的自由(暴露)长度。如国1所示,根据软管内径选用下列适当的公式:
a)软管公称内径22mm(含22mm)以下:弯曲180°,自由长度=π[r+(d/2)]+2d.
b)软管公称内径22mm以上:弯曲90°,自由长度={π[r+(d/2)]}/2+2d.
式中:r——最小弯曲半径;d——软管外径。
3、把软管总成试件连接到试验装置上,按图1所示安装,当软管总成公称内径在22mm(含22mm)以下时,应弯曲180°;大于22mm时,弯曲90°。

图1 软管总成耐久性(脉冲)试验安装示意图
4、选择的试验油液应符合黏度等级ISO VG46(在40℃时,46cSt±4.6cSt)的要求,使其在软管总成内以足够的速度循环,以维持相同的温度。
5、对软管总成内部施加一脉冲压力,其频率在0.5Hz~1.3Hz(周期/分到78周期/分之间),记录试验的频率。
6、压力循环应在图2所示的阴影区域内,并使之尽可能接近图示曲线。压力上升的实际速率应在100MPa/s~350MPa/s之间。
7、对软管总成进行脉冲试验,其压力为软管总成最高工作压力的100%、125%、133%,试验油温度保持在100℃±3℃。
8、脉冲试验的持续总脉冲次数的确定,按产品标准规定,试验可以间歇进行。
9、在完成所需的总脉冲次数后,软管总成未呈现失效现象,则认为通过了脉冲试验。

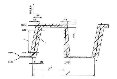
图2 软管总成耐久性(脉冲)试验的压力周期曲线
图2解释:
a —— 压力上升速度切线; b —— 在此两点之间确定压力上升速率;
c ——一 个完整的脉冲周期的45%至55%; d ——一 个完整的脉冲周期。
注1:压力上升切线是通过压力上升曲线上的两个点绘制的直线,一个点在试验压力的15%处,而另一点在试验压力的85%处。
注2:点0是压力上升切线与压力为0MPa的交点。
注3:压力上升速率是压力上升切线的斜率,用MPa/s表示。
注4:周期速度应是一致的,在0.5Hz~1.3Hz范围。