管道输送系统 螺纹连接件的试验程序之外压试验泄漏检测:
1、基本原则
外压试验时应有一个可以检测到连接件发生泄漏的系统。一般认为,与内压泄漏检测相比,外压试验时的泄漏检测要更为困难,精确度也要低得多。
外压试验应采用洁净的水或某种适当介质。,应在报告中记录所有水面变化。
2、开口端封堵
连接件试样封堵端应有孔口,以便向试样内充水,一般需要 2 个孔口,一个进水口,一个排气口。排气口应在试样进水口相对的另一端。排气口应位于管端,便于试样管内气体可以全部排出。如果没有排出外压腔内所有气体,那么就会导致延长稳定周期和/或对接头密封泄漏的误判。因此,应采用一切办法排除外压腔、试样和所有泄漏检测管中的气体。例如,使进口和出口位于合适的位置,在填充试样或用水注入外压腔时倾斜试样等都是排除试样中气体的方法。
3、外压试验安装
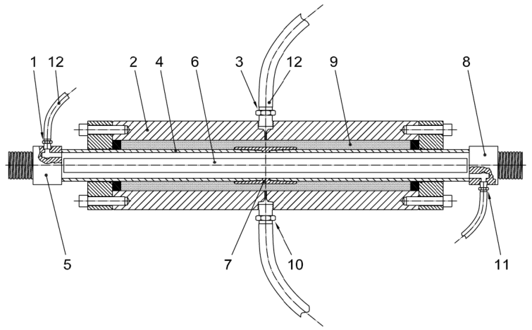
外压试验安装示例如图 1 所示。图 1 说明“3”所示的开口在安装和排气时应位于外压腔上部最高处。然后沿圆周方向旋转整个装置,确保这个开口偏离泄漏检测 20°,或者将泄漏检测装置连接到外压腔底孔(180°)、侧孔(90°)以避免泄漏检测管中残留的气体进入外压腔。
图 1 说明“11”所示的开口应与试样水平或在正下方。

标引序号说明:
1——外压试验用泄漏检测口;
2——外压腔;
3——外压试验用压力传感器接口;
4——试样;
5——堵头,顶部有内孔,见标引序号 1;
6——芯棒,安全性需要;
7——试样接头;
8——堵头,底部有内孔,见标引序号 11;
9——压力舱,充满水;
10——压力舱进水孔;
11——外压试验时用注水口;
12——连接到泄漏检测系统的软管。
图 1 外压试验安装示例
4、水位泄漏检测与测量
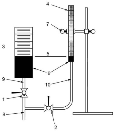
进行外压试验前,向试样内部充水。从端帽顶部向软管注水,把软管连接到泄漏检测系统,如图 1 说明“8”、说明“12”所示以及图 2 说明“8”所示。
在外压试验过程中,压力舱要把试样接头和接头两侧的部分管体密封起来。在外压试验时,当达到规定压力和轴向力时,能立即看到明显的水位变化(大于 0.9cm³/15min)。这个变化通常呈下降趋势且是"周期稳定",通常在规定的保压期前出现。出现这种情形时,对外压试验有下列准则:
a)加压至试验压力,然后关闭压力泵阀。
b)在关闭阀门后,为了维持试验压力,有必要及时适当补压。
c)关闭阀门后(在达到目标载荷以及泄漏监测系统稳定后)开始记录框架载荷、压力和量筒液面读数。
d)按要求的时间间隔记录框架载荷、压力和量筒液面读数。
e)记录气泡管泄漏速率和泄漏趋势。

标引序号说明:
1——大量筒阀;
2——小量筒阀;
3——顶部开口的大量筒(约为 100cm³~200cm³);
4——最小刻度为 0.1cm³ 的顶部开口的小量筒(约为 25cm³);
5——水位;
6——着色水;
7——可调的量筒支架,可使量筒底部在每个保压周期开始时可调至 100cm³~200cm³ 水位);
8——软管,气体内压试验时连接至压力舱顶部,外压试验时连接至一个堵头的顶部内孔;
9——大量筒软管;
10——小量筒软管。
图 2 外压试验用试样上带有外压腔的泄漏检测系统示例
外压试验开始时,图 2 所示的较大的量筒装一半水。在施加和调整载荷前,打开大量筒阀,关闭小量筒阀。大量筒内液面会随试验载荷的施加而上升或下降。保压开始后,打开小量筒阀,上下调整小量筒的位置,使量筒里液面在筒底附近,然后关闭大量筒阀。如果接头有泄漏发生,将观测到小量筒内液面上升,及时测量泄漏速率。为了易于观察液面,可向量筒内加颜料。
应记录每个保压期开始和结束时小量筒内的液面位置。出现泄漏现象后,按要求的时间间隔记录小量筒内的液面水平面位置,以此判定泄漏特征。