今天给大家带来的分享是关于汽车用多层塑料燃油管(以下简称“多层管”)耐燃油性能试验的内容。
多层管耐燃油性应符合表 1 的要求,并按以下规定要求进行试验。
表 1 多层管技术要求
| 试验项目 | 技术要求 | 试样长度 | 试样数量 | ||
| 耐燃油性 | 耐燃油后外观 | 无裂纹 | 4050mm | 1 根 | |
| 耐燃油后表面电阻率 b | ≤106 | ||||
| 长度变化率 | -2%~2% | ||||
| 层间黏附力 | 平均值 | ≥1.0 | 500mm c | 5 根 c | |
| 最小力值 | ≥0.5 | ||||
| 无法分层时 | 无分层 a | ||||
| 低温冲击后外观 | 无裂纹 | 300mm c | 5 根 c | ||
| 低温冲击后室温爆裂强度 /MPa | ≥室温爆裂强度的 75% | ||||
a 样条无法分层时使用该评价。 b 仅适用于有导电要求的多层管,其试样长度不做规定,建议为 1000mm 或根据前序或后续试验的试样长度制备。 c 耐燃油性试验的试样仅需提供 1 根 4050mm 的管材,500mm 或 300mm 的试样为耐燃油后切制的试样,无需单独提供。 | |||||
1、试验装置
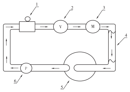
循环试验机,见图 1。
2、试验介质
按甲苯、异辛烷和乙醇体积比例为 45%∶45%∶10% 配制介质液。
3、试验方法
3.1 如试样为有导电要求的多层管按“表面电阻率”规定执行试验,如满足表面电阻 ≤106,则进行步骤 3.2,否则重新选择试样进行步骤 3.1,直至试样表面电阻 ≤106;其他试样不适用。
3.2 间隔 50mm,标记 5 段 300mm±5mm 长的标距,并记录为初始标距间距离 L0,精确值 0.1mm。
3.3 将试样与循环试验机相连,如图 1 所示。用介质液充注循环系统,保持介质液温度为 60℃±2℃,设置介质液压力为 0.2MPa,介质液流量为 10L/h~20L/h,循环时间 5000h±2h。
3.4 试验期间每周更换新介质,循环结束后,将多层管从循环试验机中拆除,观察试样表面,不应有明显的裂纹。
3.5 测量试样各标距耐燃油后长度,精确值 0.1mm,按式(1)进行计算并记录。
Vu=(L1-L0)/L0×100% ……………………………(1)
式中:
Vu——耐燃油试验后长度变化率,%;
L1——耐燃油后标距间距离,单位为毫米(mm);
L0——初始标距间距离,单位为毫米(mm)。
3.6 如试样为有导电要求的多层管,按“表面电阻率”规定执行试验并记录;其他试样不适用。
3.7 将试样切制出 5 根 500mm 长的试样,按“层间黏附力”规定进行试验。
3.8 将试样切制出 5 根 300mm 长的试样,按“低温冲击性能”规定进行试验。

标引序号说明:
1——压力计;2——控制阀;3——流量计;4——试样;5——可加热介质箱;6——介质泵。
图 1 试验装置示意图