车用压缩氢气铝内胆碳纤维全缠绕气瓶的耐久性试验方法:
1、合格指标
在水压试验、跌落试验、表面损伤试验、环境试验、加速应力破裂试验、极限温度压力循环试验和常温静压试验过程中,气瓶不应泄漏或破裂;在剩余强度液压爆破试验中,气瓶爆破压力应大于或等于 0.8Pb0。
2、试验方法
2.1 总体要求
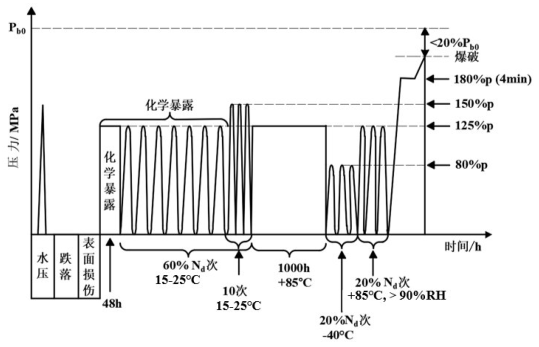
随机抽取 1 只气瓶按 2.2~2.9 的规定顺序进行试验,如图 1 所示。

图 1 耐久性试验流程图
2.2 水压试验
按规定进行水压试验,将气瓶加压至 1.5 倍公称工作压力并保压至少 30s。气瓶制造单位已做过水压试验的气瓶可不进行此项试验。
2.3 跌落试验
按规定进行跌落试验。
2.4 表面损伤试验
试验步骤如下:
a)先按规定对气瓶进行裂纹制备;
b)将气瓶在小于或等于 -40℃ 的环境中至少静置 12h;
c)静置完成后应立即对气瓶按规定进行摆锤冲击。
2.5 环境试验
试验步骤如下:
a)按规定进行化学暴露,气瓶的总浸渍时间应大于 48h,并保持气瓶内压为 1.25 倍公称工作压力,环境温度为(20±5)℃;
b)在循环压力下限为 2MPa、上限大于或等于 1.25 倍公称工作压力,环境温度为(20±5)℃ 条件下对气瓶进行压力循环,压力循环频率应小于或等于 10 次/min,循环次数为 0.6Nd。在进行最后 10 次循环前,应将压力上限升高为 1.5 倍公称工作压力。压力循环结束后,移走玻璃棉衬垫并用清水冲洗气瓶表面。
2.6 加速应力破裂试验
将气瓶置于温度大于或等于 85℃ 的高温环境中,将气瓶加水压至 1.25 倍公称工作压力,并在此温度和压力下静置 1000h。
2.7 极限温度压力循环试验
先将气瓶置于温度小于或等于 -40℃ 的低温环境中,在压力下限为 2MPa、上限大于或等于 0.8 倍公称工作压力条件下进行压力循环试验,压力循环频率应小于或等于 10 次/min,循环次数为 0.2Nd,试验过程中应保证气瓶表面及瓶内试验介质的温度小于或等于 -40℃。再将气瓶置于温度大于或等于 85℃、相对湿度大于或等于 90% 的环境中,在压力下限为 2MPa,上限大于或等于 1.25 倍公称工作压力条件下进行压力循环试验,循环次数为 0.2Nd,试验过程中应保证气瓶表面及瓶内试验介质的温度大于或等于 85℃。
2.8 常温静压试验
按规定进行静压试验,试验压力为 1.8 倍公称工作压力,保压时间为 4min。
2.9 剩余强度液压爆破试验
按规定进行水压爆破试验。