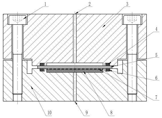
氢气渗透试验装置主体基本结构:
氢气渗透试验装置主体基本结构如图 1 所示,主要由高压侧腔体、低压侧腔体、密封圈、金属丝筛网、烧结金属支撑件等组成。
高压侧腔体和低压侧腔体用于夹持圆片试样;烧结金属支撑件用于支撑圆片试样;在圆片试样与烧结金属支撑件之间设置金属丝筛网,避免圆片试样表面受到挤压。

说明:
1——螺栓;2——进气口;3——高压侧腔体;4——密封圈1;5——圆片试样;
6——密封圈2;7——金属丝筛网;8——烧结金属支撑件;9——氢气量检测口;10——低压侧腔体。
图 1 氢渗透试验装置主体基本结构