车用压缩天然气瓶阀(以下简称阀)是一种工作环境温度 -40℃~+85℃,公称工作压力不大于 25MPa 的车用压缩天然气瓶阀。
今天我们来学习该型阀用限流装置性能试验的内容。
限流装置 excess flow device,当气体流量或进出口压差超过设定值时能动作并限制气体流量的装置。
1、限流装置性能要求
1.1 耐用性
在公称工作压力时,限流装置完成 20 次启闭循环,应符合 1.3 的规定。
1.2 压力脉冲
分别对限流装置的进气口和出气口施加公称工作压力并进行各 100 次的脉冲,应符合 1.3 的规定。
1.3 限流性
当限流装置进出气口两端压力差超过 0.65MPa 时,限流装置应能动作并限流;当压力差达到 10MPa时,限流装置的旁路流量应不大于 0.05m³/min(标准状态下)。
2、限流装置性能试验方法
2.1 耐用性试验
将带有限流装置的被测阀装在专用装置上(见图 1),使进气口接入气源至公称工作压力,快速开启控制阀 1,限流装置动作,然后再关闭控制阀 1,使限流装置阀芯复位,这样开启和关闭构成一次循环,对限流装置进行 20 次启闭循环,再按 2.3 的规定进行试验,应符合 1.3 的规定。

标引序号说明:
1——控制阀;2——被测阀。
图 1 限流装置耐用性试验示意图
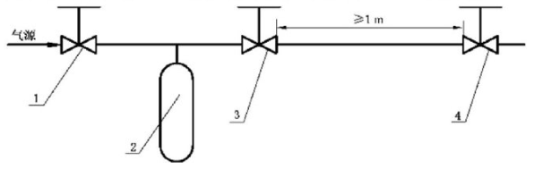
2.2 压力脉冲试验
将带有限流装置的被测阀装在试验专用装置上(见图 2),使进气口接气源,出气口接排放控制阀 4,被测阀与控制阀 4 之间接 1 米长的管路,阀呈全开启状态并按如下步骤操作:
a)开启控制阀 1,往管路内充入气源至公称工作压力,关闭控制阀 1;
b)快速开启控制阀 4,使管路内压力降为大气压,关闭控制阀 4;
c)重复 a)、b)步骤进行正向 100 次压力脉冲;
d)用同样方法对阀进行反向 100 次压力脉冲。
完成上述压力脉冲试验后,按 2.3 的规定进行试验,应符合 1.3 的规定。

标引序号说明:
1——控制阀;2——容器,容积应不小于 1 升;3——被测阀;4——控制阀。
图 2 限流装置压力脉冲试验示意图
2.3 限流性试验
将带有限流装置的阀装在试验专用装置上,通入气源,当通入的气体压力差超过 0.65MPa 时,限流装置应能动作并限流,在出口端接一流量表测得此时流量。当通入的气体压力差达到 10MPa 时,限流装置的旁路流量应符合 1.3 的规定。
以上就是今天的分享!如果您对用于上述试验的限流装置性能试验装置(耐用性试验装置、压力脉冲试验装置等)感兴趣,欢迎与我们联系!