海底光缆接头盒 closure for optical fibre submarine cables,为海底光缆系统的两段海底光缆段间提供光学、电气、密封和机械强度连续性的接续保护装置。
今天我们来学习关于无中继海底光缆接头盒(以下简称“接头盒”)环境性能试验的内容。接头盒环境性能试验的内容包括:抗静水压试验、度循环试验及耐海水腐蚀试验,对应的要求及试验方法如下:
1、抗静水压
1.1 要求
根据接头盒的适用水深,确定相应的试验水压,连续保持规定压力 48h,试验过程中光纤附加衰减应不大于 n×0.1dB,卸载后光纤残余附加衰减应不大于 n×0.05dB,结构应无目力可见的变形和损伤,密封区域应无水渗入,试验后绝缘层内应电气连续,耐电压性能应符合要求。试验水压也可为用户要求的其它数值。
水深与试验水压的换算见公式(1):
P=k×g×h×ρ×10-3 .................................(1)
式中:
P——静水压,单位为兆帕(MPa);
k——安全系数,应不小于 1,通常取为 1,也可为供需双方商定的数值;
g——重力与质量关系常数,单位为牛顿每千克(N/kg),通常取 9.80665;
h——适用水深,单位为米(m);
ρ——海水密度,单位为克每立方厘米(g/cm3),通常取为 1.0281。
1.2 试验方法
1.2.1 试验目的
评价接头盒的抗静水压性能。
1.2.2 试验装置
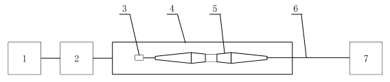
水压密封试验装置如图 1 所示。

标引序号说明:
1——水压施加装置;2——水压监测装置;3——海底光缆末端密封;4——水压试验罐;
5——接头盒;6——海底光缆;7——光纤附加衰减监测设备。
图 1 典型的水压密封试验装置
1.2.3 试验方法
a)考虑到试验设备的实际情况,允许将海底光缆外层铠装去除再进行试验。
b)将接头盒试样一端进行密封处理,然后将接头盒置于水压试验罐中,施加水压,持续 48h。
c)试验后,对接头盒试样进行拆解,观察接头盒密内部密封区域进水情况。
d)试验期间测量试样中光纤的附加衰减,试验结束后测量光纤的残余附加衰减。
1.2.4 试验结果
试验结果应满足 1.1 的规定。
2、温度循环
2.1 要求
接头盒在 -20℃ 到 +50℃ 的范围内进行温度循环试验,试验的每个温度步的光纤附加衰减应不大于 n×0.1dB,试验后光纤残余附加衰减应不大于 n×0.05dB,绝缘层内应电气连续,耐电压性能应符合要求。
2.2 试验方法
按 GB/T 7424.22-2021 中 F1 规定的方法进行试验,接头盒两侧安装的海底光缆长度应不小于 15m/根,最低温度为(-20±2)℃,最高温度为(50±2)℃,保温时间不小于 12h,循环 2 次。
3、耐海水腐蚀
3.1 要求
当接头盒的铠装终端、壳体及弯曲保护装置的金属部分未采用奥氏体 316L 不锈钢材料、钛合金材料或其它耐海水腐蚀的等效材料时,应检验接头盒的抗腐蚀能力。接头盒进行耐海水腐蚀试验后,抗静水压性能应符合 1.1 的要求。
3.2 试验方法
试样是完整的接头盒,两端连接不短于 20cm 的海底光缆。考虑到试验设备的实际情况,允许将海底光缆外层铠装去除再进行试验,海底光缆末端密封处理,浸没 5%NaCl 水溶液中,试验温度(50±5)℃,沉浸时间 18 个月。试验后进行抗静水压性能试验。
以上就是今天的分享!如果您对用于上述试验的抗静水压密封性能试验装置感兴趣,欢迎与我们联系!
