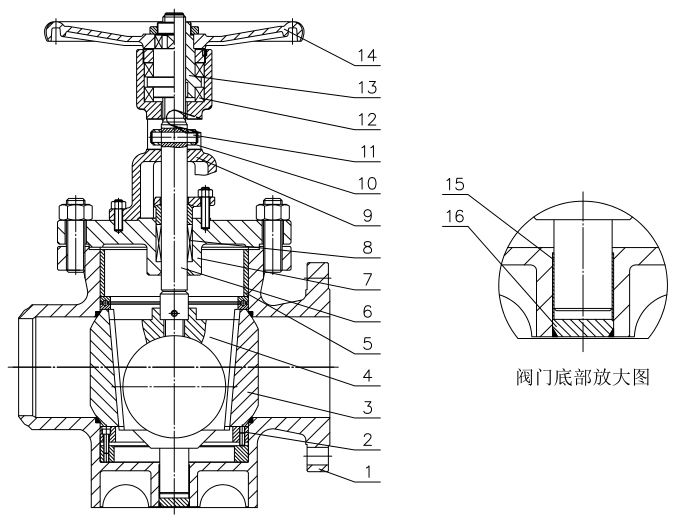
撑开式金属密封阀门 metal-sealed unfurled valve,是一种通过楔式锥体使球形阀瓣向两侧撑开或收拢,实现关闭或打开的金属密封阀门。其典型结构型式如图 1 所示:

标引序号说明:
1——阀体;2——下限位环;3——球形阀瓣;4——楔式锥体;5——上限位环;6——阀杆;
7——阀盖;8——填料;9——支架;10——滚轮;11——导向销;12——轴承;
13——阀杆螺母;14——手轮;15——轴套;16——底盖。
图 1 撑开式金属密封阀门
今天我们来学习关于撑开式金属密封阀门检验与试验方法的内容。
1、总则
撑开式金属密封阀门的检验:
a)在装配过程中对阀门进行检验,应使用非破坏性检验方法;
b)查"原材料入厂检验记录"、"工序过程记录"、"焊接和堆焊记录"、"热处理记录"、"无损检测记录"等;
c)压力试验。
2、压力试验
阀门的压力试验符合 GB/T 26480 的规定。
3、壳体壁厚测量
用测厚仪或专用卡尺等对阀体流道、中腔及阀盖部位进行测量。
4、阀杆硬度测量
用硬度计对阀杆光杆部位测量,测量 3 点取平均值。
5、密封面硬度测量
用硬度计在密封面的中心区域,各测量 3 点取平均值。
6、关闭件组合拉力试验
将楔式锥体、阀杆和阀杆螺母组合到一起,用专用夹具连接楔式锥体,并用专用工装安装到阀杆螺母上(拉伸时,仅阀杆螺母的支撑面受力,类似本阀门的安装使用状态),用拉伸试验机夹紧两个工装夹具并拉伸,直至拉断破坏。
7、材质成分分析
采用光谱分析法分析被检测零件本体材料的加工表面,或在加工表面 6mm 之下取样,采用化学法进行材料元素分析。
8、阀体材质力学性能
用阀体同炉号、同批热处理的试棒按 GB/T 228.1 规定的方法进行。
9、逸散性试验
按 GB/T 26481、ISO 15848-1 规定的方法进行。
10、静压寿命试验
按 JB/T 8858 或 JB/T 8861 的要求进行寿命试验。
11、阀门标志检查
目视检查阀体表面铸造或打印标记内容,以及铭牌上打印标记内容。
12、无损检测
所有焊接连接端撑开式金属密封阀门的焊接端部位应进行表面无损检测,检测结果应为 NB/T 47013.4 或 NB/T 47013.5 的Ⅰ级。