橡胶和塑料软管及非增强软管柔性及挺性的测量:室温弯曲试验 A。
1、方法 A1
1.1 装置
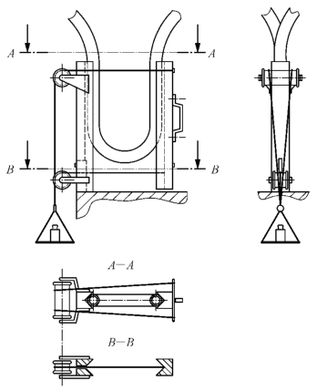
装置由 A 和 B 两个导板构成,导板 A 固定在轨道上,导板 B 沿该层板移动,平行于导板并与导板 A 高低一致[见图 1a)]。
也可以测量达到弯曲半径要求的应力,例如,通过一个滑轮系统和砝码测量(见图 2)。应注意,尽量减少摩擦阻力的影响。
1.2 试样
1.2.1 类型和尺寸
试样应该由整根试样或适于试验长度的试样组成。如果制造的长度短于试验要求的长度,应专门制造足够长度的试样。
1.2.2 数量
除非另有规定,应试验两个试样。
1.3 试样的调节
试验应在试样制造 24h 后进行;
为使评价具有可比性,应尽可能在试样制造后相同时间间隔后进行试验。制造和试验间隔的时间应符合 ISO 23529 的规定;
试验前,试样应在标准实验室温度和湿度下(见 ISO 4671)调节至少 16h;该 16h 可以是试样制造后 24h 时间间隔的一部分。
1.4 试验温度
应在 ISO 23529 规定的标准试验室温度和湿度下进行。
1.5 试验程序
1.5.1 如有要求,按照产品规范要求的真空度和试验压力加压。
1.5.2 用 ISO 4671 中规定的合适的量具测量并确定试样的平均外径 D。
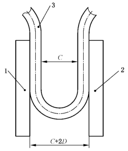
1.5.3 沿整个管长画两条平行且径向相对的直线。如果试样本身具有弯曲,其中一条线应在曲线的外侧。取 1.6C+2D 或 200mm 两者中较长的距离在每条线上做标记,其中 C 为相应的规范中规定的最小弯曲半径的两倍,以使标出的距离正好相对。这将确保弯曲试验有充分的长度和试样有足够的支撑。
1.5.4 将导板 A 和 B 分开稍短于 1.6C+2D 的距离。将软管放入导板之间,以使标记距离的两端与两个导板的上端对齐,并当导板靠拢到 C+2D 的距离时(见图 1)仍在此位置。
1.5.5 检查软管两边的支撑不短于 D 的长度。
1.5.6 测量并确定软管弯曲部分的最小外径 T[见图 1b)]。
1.6 结果表示
计算 T/D 值。
1.7 试验报告
试验报告应该包括以下信息:
a)本部分的编号,即 GB/T 5565.1-2017;
b)所用方法;
c)试验试样或管件的完整说明;
d)试验温度;
e)样件中的压力或真空度;
f)观察扭曲引起的弯曲试样部分或不规则的任何突然变化;
g)D、T 和 T/D 的值;
h)试验日期。
![]() | ![]() |
| a) | b) |
说明:1——导板 A;2——导板 B;3——试样。
图 1 弯曲试验装置
2、方法 A2
2.1 装置
包括两个导板 A 和 B,导板 A 被固定在一个平面上,装配有定滑轮和砝码的导板 B 在该平面可移动,且平行于导板 A,见图 2。应注意,尽量减少摩擦阻力的影响。

图 2 滑轮和砝码试验装置
2.2 试样
2.2.1 类型和尺寸
试样应该由整根试样或适于试验长度的试样组成。如果制造的长度短于试验要求的长度,应专门制造足够长度的试样。
2.2.2 数量
除另有规定,应试验两个试样。
2.3 试样的调节
试验应在试样制造 24h 后进行;
为使评价具有可比性,应尽可能在试样制造后相同时间间隔后进行试验。制造和试验间隔的时间应符合 ISO 23529 的规定;
试验前,试样应在标准实验室温度和湿度下(见 ISO 4671)调节至少 16h;该 16h 可以是试样制造后 24h 时间间隔的一部分。
2.4 试验温度
试验应在 ISO 23529 规定的标准试验室温度和湿度下进行。
2.5 试验程序
2.5.1 如有要求,施加在相关产品规范中规定的试验压力或真空度。
2.5.2 沿整个管长画两条平行且径向相对的直线。如果试样本身具有弯曲,其中一条线应在曲线的外侧。取 1.6C+2D 或 200mm 两者中较长的距离在每条线上做标记,其中 C 为相应的规范中规定的最小弯曲半径的两倍,以使标出的距离正好相对。这将确保弯曲试验有充分的长度和试样有足够的支撑。
2.5.3 将导板 A 和 B 分开稍短于 1.6C+2D 的距离。将软管放入导板之间,以使标记距离的两端与两个导板的上端对齐,并通过加重当导板靠拢到 C+2D 的距离时,保持此位置。直到在软管弯曲部分获得最小外径 T(见图 1)。
2.5.4 检查软管两边的支撑不短于 D 的长度。
2.5.5 测量并确定软管弯曲部分的最小外径 T,记录达到该位置增加的总质量,单位为千克(kg)[见图 1a)]。
2.6 试验报告
试验报告应包括下列内容:
a)本部分的编号,即 GB/T 5565.1-2017;
b)所用方法;
c)试验的增强软管或非增强软管的详细描述和软管进行试验所依据的软管规范;
d)试验温度;
e)如果适用,进行试验所用的压力或真空度;
f)T 的值和达到规定弯曲半径所需要的力(如总质量的增加,用 kg 表示);
g)试验日期。