注水用配水器的检验方法-通用检测:
1、检验指标
检验指标见表 1。
表 1 配水器检验项目条件与指标
| 检验项目 | 检验条件 | 检验指标 |
| 外观及尺寸检验 | 目测工具外观,按照图纸测量工具尺寸,每处测量 3 次 | 外观光洁,无坑洞、锈蚀;测量数据符合图纸要求 |
| 阀面硬度 | 用洛氏硬度仪测试阀面不同点位置,重复 3 次 | 不小于 HRC 55 |
| 弹簧性能 | 1kN,1.5kN,2.0kN,2.5kN 的载荷轴向重复加载3次,每次稳压 5min | 4 个加载点重复 3 次后,永久变形应不超过弹簧自由高度的 0.3% |
| 阀启开与关闭压力 | 0.5MPa~0.7MPa,重复 3 次; 0.45MPa,重复 3 次 | 阀启开灵活,目测周向均匀喷射清水;阀密封不渗不漏,压力不降 |
| 整机耐压与密封性 | 额定工作压力的 1.5 倍,稳压 5min,重复 3 次 | 不渗不漏,压力不降 |
| 油管螺纹抗滑脱强度 | 轴向拉伸载荷,达到 320kN 时,稳定 5min,重复 3 次 | 油管螺纹不滑脱,卸载后测试油管螺纹无变形 |
2、外观及尺寸检验
2.1 检验设备及工具
检验设备及工具如下:
a)游标卡尺:量程 0mm~500mm,示值误差 ±0.02mm。
b)外卡规:量程 0mm~150mm,分度值 0.02mm。
c)内卡规:量程 0mm~90mm,分度值 0.02mm。
2.2 检验程序
检验程序如下:
a)目测工具外观。
b)按照图纸测量配水器尺寸参数,重复 3 次。
2.3 检验结果判定
达到表 1 中规定的检验指标要求为合格。
3、配水器阀面硬度检验
3.1 检验设备及工具
洛氏硬度仪:精度不低于 0.2 级。
3.2 检验程序
使用硬度仪检测配水器阀面,重复 3 次。
3.3 检验结果判定
达到表 1 中规定的检验指标要求为合格。
4、弹簧性能检验
4.1 检验设备及工具
检验设备及工具如下:
a)弹簧试验机:精度不低于 0.5 级。
b)游标卡尺:量程 0mm~500mm,示值误差 ±0.02mm。
4.2 检验程序
检验程序如下:
a)将弹簧组装好并置于弹簧试验机工作台上。
b)按 1kN,1.5kN,2.0kN,2.5kN 的载荷点要求对弹簧施加轴向压缩力,每个加载点稳压 5min,重复 3 次,同时测量每个加载点的变形量。
c)卸掉轴向压缩载荷,测量弹簧变形量。
4.3 检验结果判定
达到表 1 中规定的检验指标要求为合格。
5、配水器阀启开与关闭压力检验
5.1 检验设备及工具
检验设备及工具如下:
a)试压泵:额定工作压力不低于配水器额定工作压力的 1.5 倍。
b)压力表:精度不低于 0.5 级。
c)介质:清水。
5.2 检验程序
检验程序如下:
a)阀关闭压力试验:对配水器施加泵压,当压力达到额定关闭压力,稳压 5min,检查阀密封性。
b)阀启开压力试验:对配水器施加泵压至额定开启压力,观察配水器的开启压力及阀开启情况。
c)重复 a)~b)各 3 次。
5.3 检验结果判定
达到表 1 中规定的检验指标要求为合格。
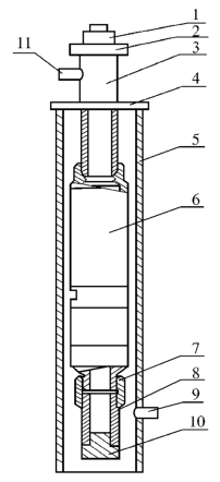
6、整机耐压与密封性检验装置
检验装置示意图见图 1。
6.1 检验设备及工具
检验设备及工具如下:
a)试验井:井深大于 5m,内径大于 ϕ120mm,套管耐压大于配水器额定压力的 2 倍。
b)试压泵:额定工作压力不低于检验工具额定工作压力的 2 倍。
c)压力表:精度不低于 0.5 级。
d)介质:清水。

1——丝堵;2——油管接箍;3——油管;4——油管挂;5——套管;6——配水器;7——油管接箍;
8——油管;9——下试压接头;10——丝堵;11——下试压接头
图 1 整机耐压与密封性检验装置
6.2 检验程序
检验程序如下:
a)按图 8 的要求组装好试件,下入试验井内。
b)分别从上、下试压接头连接试压泵,当压力达到额定工作压力的 1.5 倍时,稳压 5min,重复 3 次。
6.3 检验结果判定
达到表 1 中规定的性能指标要求为合格。
7、油管螺纹抗滑脱强度检验
7.1 检验设备及工具
拉力试验机:精度不低于 0.5 级。
7.2 检验程序
检验程序如下:
a)将配水器接头置于拉力试验机。
b)对配水器接头施加轴向拉伸载荷,达到 320kN 时,稳定 5min。
c)重复 b)拉伸 3 次。
7.3 检验结果判断
达到表 1 中规定的检验指标要求为合格。