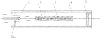
二氧化碳致裂器 carbon dioxide cracker,是一种由发热装置、二氧化碳致裂器用致裂管、充气装置(单向阀)等组成,利用液体二氧化碳吸热气化物理相变时体积急剧膨胀产生高压致使岩体开裂的装置。(二氧化碳致裂器的结构参见图 1)。

标引序号说明:
1——单向阀;2——电点火柴;3——发热装置;4——二氧化碳致裂器用致裂管管壁(钢或 PE);
5——二氧化碳致裂器用致裂管后堵盖;6——二氧化碳致裂器用致裂管前堵盖。
今天我们来学习关于二氧化碳致裂器技术要求、检验方法及检验规则的内容。
1、技术要求
1.1 致裂管的基本参数应符合表 1 的规定。
表 1 致裂管的基本参数
| 致裂管外径 mm | 充装CO2质量 kg | 承压能力 MPa | 致裂管腔体容积 L |
| 36 | 1 | ≥5 | ≤50 |
| 52 | 1、2 | ||
| 76 | 3、5 | ||
| 102 | 3、5、10 | ||
| 120 | 10、15、20 | ||
致裂管长度根据致裂管外径和需要充装CO2质量确定。 | |||
1.2 所有零件(包括外购件、协作件、标准件)应附有合格证书,并经质量检验部门检验合格后方可使用。
1.3 机械加工件的质量应符合 JB/T 7164 的规定,焊接质量应符合 JB/T 7167 的规定,装配质量应符合 JB/T 7165 的规定。
1.4 致裂管的表面涂装质量应符合 JB/T 9857 的规定。
1.5 同一型号致裂管的零部件均应满足互换性要求。
1.6 致裂管应经液压耐压试验。耐压试验过程中,致裂管应无渗漏现象。
1.7 产品最大设计充装压力不应大于 25MPa。
1.8 致裂管管筒不应作为导电回路。
2、检验方法
2.1 外观检验
致裂管的外观质量应在自然光下,用目测检验。
2.2 外形尺寸的检验
致裂管的外形尺寸用钢卷尺或游标卡尺测量。
2.3 性能
2.3.1 密封性
致裂管的密封性检验方法:将液压系统缓慢升压至致裂管承压能力规定的压力,确认无泄漏后继续升压至 1.5 倍致裂管承压能力规定的压力,并保压至少 10min 时间。在保压期间目测检查致裂管各部位应无渗漏现象。
2.3.2 最大设计充装压力
致裂管在型式检验时应对抽样样品进行最大设计充装压力试验:将液压系统缓慢升压至 25MPa,卸压后检查致裂管应能实现试验压力下流体的释放。
3、检验规则
3.1 检验类型
致裂管检验分出厂检验和型式检验,出厂检验由生产企业质量检验部门进行,型式检验由法定产品质量监督检验机构进行。
3.2 出厂检验
3.2.1 致裂管应进行出厂检验,并附有证明质量合格的技术文件方可出厂。
3.2.2 产品出厂检验,按生产企业制定的检验规范进行,检验项目见表 2。
表 2 致裂管检验项目
| 序号 | 检验项目 | 技术要求 | 试验方法 | 出厂检验 | 型式检验 |
| 1 | 外观质量 | 1.4 | 2.1 | √ | √ |
| 2 | 外形尺寸 | 1.1 | 2.2 | √ | √ |
| 3 | 承压能力 | 1.6 | 2.3 | - | √ |
注:“√”为必检项目,“-”为可不检验项目。 | |||||
3.3 型式检验
3.3.1 有下列情形之一时,应进行型式检验:
——研制的新致裂管或老致裂管转厂生产;
——致裂管在设计、工艺及主要材料方面有重大变更;
——致裂管长期停产后恢复生产;
——成批或大量生产的致裂管,每三年进行一次;
——产品质量监督机构或用户按规定提出进行型式检验的要求。
3.3.2 型式检验的样品,应从出厂检验合格的产品中随机抽取。抽样数量为 3 件。检验项目见表 2。
3.3.3 经检验,表2中的检验项目全部合格时,所检样品可判定为合格。若检验项目中有一项不符合要求,应加倍复验。复验结果仍不符合要求,则判定该批样品不合格。