非金属敷缆复合连续油管(以下简称“敷缆管”) non-metalli ccomposite coiled tubing with embedded cable,是一种内嵌有动力电缆、辅热电缆、信号电缆或光纤等线缆的多层结构非金属连续油管。常用于直井、定向井、水平井等井下人工举升或采注水。
抗挤毁强度测试是敷缆管的理化性能测试项目之一,其抗挤毁强度测试值大于或等于设计值,并按以下规定方法测试敷缆管的抗挤毁强度。
1、试样要求
1.1 测试用试样净长度(不包括接头)应大于或等于 5 倍外径,但不小于 300mm。
1.2 测试前应按 GB/T 2918,在(23±2)℃ 环境下,将试样进行 48h 以上状态调节。
2、测试装置
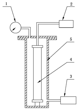
2.1 抗挤毁强度测试装置示意图如图 1 所示。

a)测试装置 1

b)测试装置 2
标引序号说明:
1——压力计;2——容量测量装置;3——压力源;4——试样;5——测试仓。
图 1 抗挤毁强度测试装置示意图
2.2 测试设备 1 中,考虑到敷缆管两端接头在测试仓中受到压力作用,应将敷缆管的一个接头与测试仓进行刚性连接。
2.3 测试设备 2 中,应保证测试仓与试样的密封,确保测试过程中测试仓无泄漏。
3、测试过程
3.1 测试用介质为水,试验温度为室温。
3.2 将试样置入抗挤毁强度测试装置并密封。
3.3 施加水压,加压过程应平稳、缓慢,最大加压速率为 10.34MPa/min。
3.4 测试过程中,当测试仓容积测量装置数值突然变大及水压压力表数值突然减小时,记录此时的最大水压值即为试样的坍塌失效压力,并停止测试。
3.5 测试结束后,泄压并取出试样,结合外观形貌观察进一步判定试样坍塌失效状态。
4、测试记录
测试记录应至少包括以下内容:
a)试样名称及状态调节情况的说明;
b)试样规格尺寸;
c)使用的测试装置;
d)测试介质及温度;
e)试样坍塌失效压力;
f)试样坍塌失效形貌。
以上就是今天的分享!如果您对用于上述试验的非金属敷缆复合连续油管抗挤毁强度测试装置感兴趣,欢迎与我们联系!