海底光缆接头盒 closure for optical fibre submarine cables,为海底光缆系统的两段海底光缆段间提供光学、电气、密封和机械强度连续性的接续保护装置。
今天我们来学习关于有中继海底光缆接头盒(以下简称“接头盒”)抗静水压试验的内容。
1、抗静水压要求
根据接头盒的适用水深,确定相应的试验水压,连续保持规定压力 48h,试验过程中光纤附加衰减应不大于 n*0.1dB,卸载后光纤残余附加衰减应不大于 n*0.05dB,结构应无目力可见的变形和损伤,密封区域应无水渗入,试验后直流电阻性能和耐电压性能应符合要求要求。试验水压也可为用户要求的其它数值。
水深与试验水压的换算见公式(1):
P=k*g*h*ρ*10-3 . . . . . . . . . . . . . . . . . . . . . . . . . . . . . . . . .(1)
式中:
P——静水压,单位为兆帕(MPa);
k——安全系数,应不小于 1,通常取为 1,也可为供需双方商定的数值;
g——重力与质量关系常数,单位为牛顿每千克(N/kg),通常取 9.80665;
h——适用水深,单位为米(m);
ρ——海水密度,单位为克每立方厘米(g/cm³),通常取为 1.0281。
2、抗静水压试验方法
2.1 试验目的
评价接头盒的抗静水压性能。
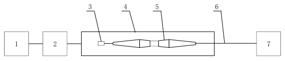
2.2 试验装置
水压密封试验装置如图 1 所示。

标引序号说明:
1——水压施加装置;2——水压监测装置;3——海底光缆末端密封;4——水压试验罐;
5——接头盒;6——海底光缆;7——光纤附加衰减监测设备。
图 1 典型的水压密封试验装置
2.3 试验方法
2.3.1 考虑到试验设备的实际情况,允许将海底光缆外层铠装去除再进行试验。
2.3.2 将接头盒试样一端进行密封处理,然后将接头盒置于压力容器中,施加水压,持续 48h。
2.3.3 试验后,对接头盒试样进行拆解,观察接头盒密内部密封区域进水情况。
2.3.4 试验期间测量试样中光纤的附加衰减,试验结束后测量光纤的残余附加衰减。
2.4 试验结果
试验结果应满足 1 的规定。
以上就是今天的分享!如果您对用于上述试验的水压密封试验装置感兴趣,欢迎与我们联系!
