管路冲刷腐蚀试验装置的相关要求:
1、通则
1.1 试验装置应可实现腐蚀介质连续流经试验管路和管路构件。
1.2 试验期间,试验装置应满足腐蚀介质流速、流态可控,腐蚀介质参数可测,或根据试验要求对腐蚀介质参数调控。
1.3 采用循环供水系统的装置,在无特定测试要求下,不同材质试样不宜共用一套供水系统。
2、试验管路装置
2.1 试验管路装置应包括水泵、流量计、前端稳流管路、测试管路、后端稳流管路、水箱等,水箱应具有水质、水温监测与调节功能,试验管路装置结构应满足附录 A 要求。
2.2 试验管路(包含管路构件)应安装在试验装置直管段中间,其前、后应连接稳流直管管路(其管径与试验管路相同),且长度应大于或等于 10 倍管径。
2.3 试验装置中与腐蚀介质接触的非试验管路结构应采用耐蚀材料,避免污染腐蚀介质。
3、管路连接
3.1 稳流管路与试验管路之间应电绝缘。
3.2 易发生缝隙腐蚀的材料不宜采用焊接法兰连接,可采用绝缘法兰夹持的方式,该连接方式应满足附录 A 要求,以缝隙腐蚀为研究目的的除外。
3.3 试验管路平行试样间的流速应由流量计监测并保持流速相同,试样管前后连接管的材质、规格尺寸、连接方式等应保持一致,以保证试样管内流态接近。
4、电化学测试装置
4.1 试验过程中宜对试验管路进行电化学测试。管路冲刷电化学测试采用三电极体系,三电极体系应满足 GB/T 24196 的要求,试验的三电极体系应包含工作电极(被研究管路材料)、参比电极和辅助电极。
4.2 按照试验目的对三电极体系进行布局,三电极体系的布局设计应符合管段试样及流动介质的特点,该测试体系应与管路系统模拟试验装置绝缘,且内径与试验管路相同。
4.3 海水介质冲刷试验中,参比电极宜采用稳定性高的固体 Ag/AgCl 参比电极,参比电极的形状、安装位置应避免或减小对管路内部流场的影响。
4.4 辅助电极应采用耐极化材料,如 Pt 电极或金属氧化物涂层电极。辅助电极的位置和形状应避免或减少对试验管路介质流态以及电场的影响。
4.5 工作电极应符合测试管路材质的要求,安装应符合管路流态的要求。
4.6 管路典型结构的电化学测试装置应满足附录 B 和附录 C 的要求。
5、电化学测试条件
电化学测试设备应满足管路测试所需的功能和参数设置要求。应选择抗干扰能力强的电化学测试仪器进行电化学测试。
附录 A
(规范性)
冲刷试验管路装置结构
A.1 管路冲刷腐蚀试验装置
管路冲刷腐蚀试验装置结构如图 A.1 所示。其中,水箱应具有水温、水质监测与调节功能,容积应大于或等于 1m³。夹持法兰的结构见图 A.2,实际应用中可根据试验目的或要求选择管路组成。

标引序号说明:
1——水温控制系统;2——水箱;3——水质监测系统;4——水泵;5——流量计;6——阀门;
7——前端稳流管;8——带凹槽的夹持法兰Ⅰ;9——试验管;10——带凹槽的夹持法兰Ⅱ;11——后端稳流管。
图 A.1 管路冲刷腐蚀试验装置示意图
A.2 试验管路夹持法兰连接
试验管路夹持法兰连接如图 A.2 所示,其中夹持法兰应为绝缘材料,试验管路的长度与管径应根据试验要求选择。

标引序号说明:
1——带凹槽的夹持法兰;2——密封圈;3——试验管路;4——凹槽;5——螺杆。
图 A.2 试验管路夹持法兰连接示意图
附录 B
(规范性)
直管段电化学测试装置
B.1 总则
直管段电化学测试装置适用于通径不大于 50mm 的管路。
B.2 直管段电化学测试试样
B.2.1 电化学测试管路由实际管路截取,两端截面磨平,并涂覆绝缘涂层。
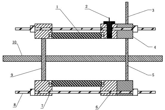
B.2.2 电化学测试管路长度 20mm,或者根据试验目的或要求确定,直管段电化学测试装置如图 B.1 所示。其中,夹持法兰Ⅰ、夹持法兰 Ⅱ 和辅助电极支撑杆为绝缘材质。

标引序号说明:
1——管状工作电极;2——固体参比电极;3——辅助电极引线;4——钛合金法兰;
5——辅助电极连接杆;6——夹持法兰Ⅰ;7——夹持法兰Ⅱ;
8——法兰连接螺杆与螺母;9——辅助电极支撑杆;10——辅助电极。
图 B.1 直管段电化学测试装置示意图
B.2.3 试验管路的上、下游应连接相同管径的绝缘管段,其长度应大于或等于 10 倍管径。
B.3 固体参比电极
B.3.1 固体参比电极采用 Ag/AgCl 电极材料,工装如图 B.2 所示,参比电极为圆柱形状,底面为工作面,与绝缘套管底面相平,上表面通过螺孔固定引线,电极与引线通过密封胶固定在绝缘套管内,绝缘套管外表面设置螺纹。

标引序号说明:
1——电极;2——密封胶;3——绝缘套管;4——电极引线。
图 B.2 参比电极工装示意图
B.3.2 在夹持法兰Ⅰ的侧面开螺孔,螺孔尺寸与参比电极绝缘套管外表面螺纹相匹配,用以固定和密封固体参比电极。
B.4 辅助电极
B.4.1 辅助电极形状推荐为圆柱形,外表面为工作面,出水端外侧设置螺纹,辅助电极安装于管路中性轴线位置,长度不小于测试管路的长度。
B.4.2 辅助电极与测试管路通径比范围控制在 1/10~1/2 范围内,为减小对测试管路内流体的影响,直径比宜为 1/10。
B.4.3 辅助电极的连接杆和螺孔如图 B.3 所示,材质为钛合金,其外壁与钛合金法兰内壁涂覆金属氧化物涂层。其中连接杆3支,互成 120°,两端分别焊接在法兰内壁和螺孔的外壁,螺孔尺寸与辅助电极出水端螺纹相匹配。
B.4.4 固定辅助电极的支撑杆和圆形孔为绝缘材质,如图 B.3 所示。其中支撑杆 3 支,互成 120°,两端分别焊接在法兰内壁和圆形孔的外壁,圆形孔内径尺寸与辅助电极外径相匹配。

标引序号说明:
1——通孔;2——支撑杆;3——螺孔;4——法兰。
图 B.3 直管段电化学测试装置侧视结构示意图
附录 C
(规范性)
弯管段电化学测试装置
C.1 弯管段电化学测试装置
C.1.1 弯管段电化学测试用电极的工装结构如图 B.2 所示,其中"1"分别为工作电极、辅助电极和参比电极。
C.1.2 弯管段电化学测试装置剖面结构如图 C.1 所示,在弯管管壁相应位置加工螺纹孔,尺寸与电极工装外壁螺纹匹配。
C.1.3 电化学测试试样作为工作电极,参比电极选择 Ag/AgCl 固体参比电极,辅助电极采用涂覆金属氧化物涂层的钛合金。

标引序号说明:
1——弯管;2——辅助电极;3——工作电极;4——参比电极。
图 C.1 弯管段电化学测试装置剖面结构示意图