汽车转向油罐是指汽车液压助力转向系统中的金属或塑料转向油罐(以下简称油罐)。今天我们来学习该型油罐试验方法的内容。
1、试验条件
1.1 测量仪器精度应符合如下要求:
a)压力表测试误差不大于 1%;
b)温度表测试误差不大于 1℃;
c)流量计测试误差不大于 1%。
1.2 试验介质应满足以下要求:
试验介质在 40℃ 时的运动黏度为 29mm²/s~74mm²/s;除 7、9、11 试验项目外,试验油温(50±5)℃;9 试验项目的试验介质采用工作介质。
2、容量测定
油罐测试前目测不应有任何缺陷。测试前,应排尽油罐内残油,封堵进油口和出油口。测量总容积、最大允许贮油量(按量油尺标记或油罐外表面的标记)、最小允许贮油量(按量油尺标记或油罐外表面的标记)。在测量结果中应减去残留在油口中的油液体积。
3、清洁度试验
按 QC/T 572 规定的方法,进行油罐内部清洁度的测试,测量内部的杂质总量和最大颗粒尺寸。
4、密封性试验
封堵油罐出油口和通气孔,通过进油口通入压缩空气,使油罐内部压力达到 0.2MPa 后停止通气,保压 1min。
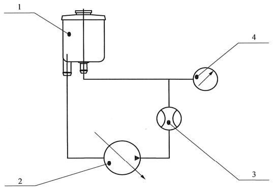
5、最大允许通过流量试验
最大允许通过流量试验回路示意图见图 1。将油罐接入试验系统,逐渐增加流量,观察进油管处压力表的压力值,当压力值为 0.03MPa时,流量计指示的流量值即最大允许通过流量。
6、安全开启压力试验
测试前目测油罐不应有任何缺陷,将油罐连接到试验台。保持油罐的所有零件不变,用适当方式封堵滤芯并确认后,向油罐中加入试验介质,至最大允许贮油量。启动油泵,增加回路压力,至安全装置打开,且所示的开启压力稳定不变为止,记下该压力值。
7、高低温试验
将油罐在室温下放置至少 24h,然后按下述温度-时间顺序进行 10 次循环试验:
——(120±5)℃,13.5h;
——130℃~135℃,2h;
——室温,05h;
——(-40±5)℃,7.5h;
——室温,0.5h。
8、振动试验

1——油罐;2——变量泵;3——流量计;4——压力表。
图 1 油罐最大允许通过流量试验回路示意图
在油罐中加入试验介质,至最大允许贮油量。
振动持续时间共 8h,振动加速度为 2.5g。
——X 轴:在共振频率下振动 0.5h,然后在 33Hz 或 67Hz下振动 1.5h。
——Y 轴:在共振频率下振动 0.5h,然后在 33Hz 或 67Hz 下振动 1.5h。
——Z 轴:在共振频率下振动 1.0h,然后在 33Hz 或 67Hz 下振动 3.0h。
注:1)两个频率中取接近共振频率的一个;
2)在振动频率达到 67Hz 还没有出现共振的情况下,振动频率按 33Hz。
9、相容性试验
将油罐的所有零件置于试验介质中,在 130℃~135℃ 下,浸泡 72h。此项试验不得超过试验介质的安全温度。
10、耐腐蚀性试验
10.1 排尽油罐内试验介质,封堵进油口、出油口和通气孔,放入盐雾试验箱中。
10.2 按 QC/T 484、QC/T 625 规定的方法,进行盐雾试验。
11、通气孔泄漏试验
室温下,在油罐中加入试验介质,至最大允许贮油量,油罐总成以频率 5Hz,振幅 25mm 振动 30min;将油罐和试验介质加热至(120±5)℃ 后,按上述振动方法重复试验。
12、跌落试验
室温下,将同一件未装试验介质的油罐从(1.1±0.1)m 高处自由跌落到水泥地面上,按油罐的 X、Y、Z 方向各做一次。