低温绝热气瓶用截止阀(以下简称"阀")是一种公称工作压力不大于 3.5MPa,设计温度为 -196℃~+85℃,环境温度为 -40℃~+60℃,介质为液氧、液氮、液氩、液化天然气、二氧化碳、氧化亚氮等气瓶用截止阀。
该型截止阀气密性试验项目包括常温气密性试验、高温气密性试验及低温气密性试验。对应的试验要求及方法如下。
1、气密性技术要求
阀在关闭和开启状态下,其气密性要求应符合表 1 的规定。
表 1 气密性要求
| 序号 | 项目 | 试验温度 /℃ | 试验压力 /MPa | 结果 |
| 1 | 低温气密性 | -196℃ (液氮环境下) | 公称工作压力 | 压力损失不大于 0.186MPa (泄漏率 ≤3mL/min) |
| 2 | 常温气密性 | 15℃~30℃ | 1.2 倍公称工作压力 | 无泄漏 |
| 3 | 高温气密性 | 85℃±2℃ | 1.2 倍公称工作压力 | 无泄漏 |
2、气密性试验方法
2.1 常温气密性试验
在 15℃~30℃ 的环境温度中,将阀装在试验装置上,关闭阀,从阀进气口充入氮气或空气至 1.2 倍的公称工作压力,将阀浸入水中至少保压 1min,应符合 1 的规定;开启阀,气体流出应顺畅。
封堵阀出气口,将阀打开,从阀进气口充入氮气或空气至 1.2 倍公称工作压力,将阀浸入水中至少保压 1min,应符合 1 的规定。
2.2 高温气密性试验
在 85℃±2℃ 的环境温度中,将阀装在试验装置上,关闭阀,从阀进气口充入氮气或空气至 1.2 倍的公称工作压力,将阀浸入水中至少保压 1min,应符合 1 的规定;开启阀,气体流出应顺畅。
封堵阀出气口,将阀打开,从阀进气口充入氮气或空气至 1.2 倍公称工作压力,将阀浸入水中至少保压 1min,应符合 1 的规定。
2.3 低温气密性试验
2.3.1 低温外部气密性试验
2.3.1.1 试验装置封闭容积(Vd)的测定
在进行低温外部气密性试验之前应进行试验装置封闭容积(Vd)的测试。Vd 为试验装置的封闭容积,其包含试验装置封闭管路和被测阀的容积,但不包含辅助容器的容积(Vn)。在测定试验装置封闭容积(Vd)之前,应首先测出辅助容器的容积(Vn)。Vd 的测定按如下步骤进行:

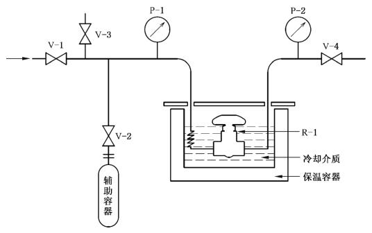
说明:V-1——截止阀;V-2——截止阀;V-3——截止阀;V-4——截止阀;R-1——被测阀;
P-1——0MPa~6MPa、0.4 级压力表;P-2——0MPa~6MPa、0.4 级压力表。
图 1 低温外部气密性试验示意图
a)在常温下,将被测阀 R-1 按图 1 所示连接到试验装置上,并打开该阀;
b)开启阀门 V-2、V-3、V-4,将试验装置的气体排空;
c)关闭阀门 V-3、V-4,开启阀门 V-1 充入氦气至公称工作压力,关闭阀门 V-1,各连接处应无泄漏,记录初始压力 Ps;
d)关闭阀门 V-2,开启阀门 V-3、V-4,将试验装置的气体再次排空;
e)关闭阀门 V-3、V-4,开启阀门 V-2,记录最终压力 Pf;
f)按式(1)计算试验装置封闭容积 Vd:
Vd=Vn×(Ps-Pf)/Pf……………………(1)
式中:
Vd——试验装置的封闭容积,单位为毫升(mL);
Vn——辅助容器的容积,单位为毫升(mL);
Ps——初始压力,单位为兆帕(MPa);
Pf——最终压力,单位为兆帕(MPa)。
2.3.1.2 低温外部气密性试验
在测定 Vd 以后,按如下的步骤进行阀外部泄漏量的试验:
a)关闭阀门 V-2、V-3,开启阀门 V-1、V-4,使被测阀 R-1 处于任意开启状态,用氦气吹扫试验装置;
b)关闭阀门 V-4,充入氦气至公称工作压力,关闭阀门 V-1,待压力稳定后,记录此时的环境温度 Z 和压力 P1;
c)将被测阀 R-1 浸在液氮中,其深度应使阀进出气口低于液氮水平面;
d)待被测阀 R-1 的温度稳定后,保持 0.01Vd 小时,然后将被测阀 R-1 从液氮中移出;
e)重新将试验装置恢复到环境温度 Z,记录此时的压力 P2。
前后两次的压力差为阀的泄漏率,应符合 1 的规定。
2.3.2 低温内部气密性试验
低温内部气密性试验按以下步骤进行:
a)按图2将被测阀 R-1 安装在试验装置上,关闭阀门 V-2、V-3;
b)打开阀门 V-1,充入氦气至公称工作压力,将被测试阀 R-1 浸没在液氮中,其深度应使阀进出气口低于液氮水平面,待被测阀 R-1 的温度与液氮的温度相稳定;
c)以不大于 11.3N·m 的力矩下关闭被测阀 R-1;
d)打开阀门 V-3 排空管线内的气体;
e)待管线温度稳定后,按图 2 所示,阀门 V-3 后端接入气泡收集测漏装置(倒置量杯);
f)保持 1min以上,记录时间 T,同时记录倒置量杯内部的空气容积增加量 V。
阀的泄漏率按式(2)进行计算:
泄漏率=V/T……………………(2)
式中:
V——倒置量杯内部的空气容积增加量,单位为毫升(mL);
T——泄漏率测量的时间,单位为分(min)。
阀的泄漏率应符合 1 的规定。

说明:V-1——截止阀;V-2——截止阀;V-3——截止阀;R-1——被测阀;
P-1——0~6MPa、0.4 级压力表;P-2——0~6MPa、0.4 级压力表。
图 2 低温内部气密性试验示意图
以上就是今天的分享!如果您对用于上述试验的截止阀气密性试验装置感兴趣,欢迎与我们联系!