机车车辆螺纹连接橡胶软管的检验方法:
1、外观尺寸检查
检查金属护套橡胶软管的长度,应符合图纸的规定;检查金属护套橡胶软管的固定接头、活接头应符合本标准规定;检查金属护套橡胶软管,螺纹表面应完整,采用螺纹规进行检查,护套表面应光滑平整、无毛刺凸凹及扭曲变形;检查端部与橡胶软管部分的连接,连接处应光滑平整、不应损伤橡胶软管。
2、强度试验
机车、客车和货车用橡胶软管以 2 倍最大工作压力的水压进行强度试验,保压 10min 后,检查橡胶软管任何部位是否有泄漏、局部膨胀等现象,卸除试验压力 3min 后,检查胶管是否出现永久变形。
将动车组用橡胶软管内充满试验用液体,排尽空气,连接到试验装置上,按 GB/T 5563 的规定进行试验,在最大工作压力下检查橡胶软管的长度变化。
3、密封性试验
3.1 常温密封性
将橡胶软管一端与压缩空气相连,其他接口封堵,橡胶软管放入水槽中,对以气体为介质的软管按 1.2 倍的最大工作压力,保压 3min,在试验压力下检查橡胶软管。
对以液体为介质的橡胶软管按 1.5 倍的最大工作压力进行试验,保压 3min,在试验压力下检查橡胶软管。
3.2 低温密封性
将橡胶软管置于 -50℃ 温度下,放置 48h,以 1.2 倍最大工作压力的压缩空气进行气密性试验,保压 3min。
4、橡胶层粘结力试验
按 GB/T 14905 的规定进行试验。
5、低温曲挠试验
试验温度为 -50℃,试验方法按 GB/T 5564 的规定进行。
6、弯曲疲劳试验
以距离接头 200mm 范围内的橡胶软管为试样,将其按最小弯曲半径弯曲 120°,保持弯曲状态 2h,在此期间有褶皱和压瘪为正常现象,然后恢复为自然状态,放置 4h,观察弯曲处有无明显折痕。
7、接头拔脱试验
将橡胶软管装在拉力试验机上,以 50mm/min 的速度拉伸,进行接头与胶管的拔脱试验。
8、高温试验
将橡胶软管置于温度为最高工作温度 ±2℃ 的恒温箱中,持续放置 2h(对于货车用橡胶软管放置 3h)后立即按 6 和 3 规定的弯曲疲劳和密封性试验方法进行试验。
9、爆破压力试验
将橡胶软管内充满试验用液体,排尽空气,连接到试验装置上,按 GB/T 5563 的规定进行试验。
10、外胶层静态耐臭氧龟裂试验
按 GB/T 24134-2009 中方法 1 进行试验,试验时间为 120h,取出胶管,放大 2 倍观察,外层橡胶有无龟裂或老化现象。
11、耐紫外线疲劳试验
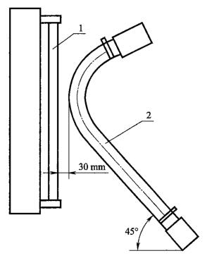
取用公称通径为 DN25 的成品橡胶软管为试样,将试样一端用卡箍固定在耐紫外线弯曲疲劳试验机的固定接头上,另一端用卡箍固定在活动接头上,开启耐紫外线弯曲疲劳试验机的运动开关,使胶管做疲劳运动,调整紫外线灯管位置,使其与胶管弯曲表面的最近距离为 30mm±2mm,开启紫外线光源和计时开关,开动试验机,连续运动(或累计运动)120h。取出胶管,检查胶管紫外线照射弯曲表面,无任何可见裂纹方为合格。胶管耐紫外线弯曲疲劳试验机示意图如图 1 所示。
紫外线光源为交流 220V 的灯管,功率 15W,波长 254nm,使用 1000h 后应更换。
橡胶软管运动的振幅为 45°±2°,摆动频率为(50±2)次/min。

说明:1——紫外线灯管;2——胶管试样。
图 1 耐紫外线疲劳试验装置
12、最小弯曲半径试验
使用图 2 所示的一个木盘和两个手柄,木盘上应开一个 A 形开口,以安装记录仪表。记录仪表用来记录进行弯曲试验时橡胶软管变扁的程度。在橡胶软管的两端来测量所施加的弯曲作用力。

图 2 弯曲半径试验装置
13、内胶层耐油性能试验
在温度为 100℃±2℃ 条件下,将橡胶软管一端密封,从另一端注入 IRM903 号油,放置 168h,然后将橡胶软管内液体完全排空。测量被检测橡胶软管试验前、后的体积值。
14、过球试验
水平放置橡胶软管,将金属球放在橡胶软管组成的一端,倾斜橡胶软管,金属球应能通过橡胶软管的另一端。特殊要求可由供需双方协商确定。
15、防火试验
防火试验由供需双方协商确定。
16、脉冲试验
按 GB/T 5568 的规定进行试验。
17、耐真空试验
取 1m 长的胶管,尽可能拉直胶管,留下一端用来密封。把一光滑的实心小球放入橡胶软管,小球的直径为胶管内径的 0.9 倍,然后将胶管开口一端和抽气泵与量表连接,在 60s 内使胶管的内压减少到 -60kPa,保压不小于 10min。
18、耐磨性试验
取长度 150mm±0.5mm 的胶管,按 GB/T 12721 的规定进行试验。
放置磨具使之与试样接触,施加 25N±0.5N 的垂直静压力,并启动机器,进行 2000 个周期。
记录质量损失 △m。
19、耐介质试验
从胶管或胶料取样,将试样厚度处理到 2.0mm±0.2mm,分别将试样浸入相同容积的 1,2-乙二醇和蒸馏水组成的试验液中以及水中,在 70℃ 下保温 168h。