铜管接头-卡压式管件是一种公称压力不大于 PN1.6MPa、公称通径不大于 DN100mm 的,用于输送生活用水(冷水、热水)、饮用水、燃气、医用气体、海水等铜管路用卡压管件。
下面我们来学习关于该型卡压管件连接性能试验的内容。(如果您用于该试验的相关试验装置感兴趣,欢迎与我们联系!)
1、要求
卡压管件应具有符合要求的连接性能。卡压管件与管路连接后,应无渗漏、脱落和塑性变形。
2、连接性能试验方法
2.1 耐压试验
将卡压管件两端与长度为 200mm 的铜管卡压连接,组成一组试样,进行耐压试验,试验介质为自来水,其试验压力为 2.5MPa,持压 1min,检查卡压管件与铜管连接部位。结果应符合要求。
2.2 负压试验
应使用 3 个不同公称通径的卡压管件分别与长度为 200mm 的等径管件卡压连接后构成一组试件,试验时,室温为(20±5)℃,试验压力为 -80kPa,在该试验压力下,保持 1h 后,卡压管件和铜管内压降应不大于 5kPa,检查卡压管件与铜管连接部位。结果应符合要求。
2.3 拉拔试验
试件选用等径管件,两端与长度为 300mm 的铜管卡压连接,组成一组试件,向管内封入 0.6MPa 气压,固定在拉伸试验机上。进行拉拔试验时,以 2mm/min 的速度进行拉伸,测定出现泄漏时的最大拉伸力,此时的拉伸力应大于最小抗拉阻力。卡压管件的最小抗拉阻力见表 1 。检查卡压管件与铜管连接部位。结果应符合要求。
表 1 卡压管件的最小抗拉阻力

2.4 温度变化试验
温度变化试验装置见图 1,此项试验应在(20±5)℃和(93±2)℃ 时用(0.1±0.01)MPa 内压来进行 5000 次循环变化,一个循环为(30±2)min,冷热水各保持 15min。在铜管外径大于 54mm 时,进行 2500 次循环变化,一个循环为(60±2)min。检查各连接部位。结果应符合要求。
单位为毫米

图 1 温度变化试验装置
2.5 交变弯曲试验
交变弯曲试验装置见图 2,使用至少 3 个卡压管件,管子跨距为 2m,在中部布置 1 个接头,在管端各布置 1 个转换接头,弯曲应力加在试验结构中部的接头上。试验时检查各部位连接是否完好,然后打开球阀,启动压力泵,等到压力表显示 1.5MPa 时,关闭球阀,启动调速电机,管子在中部连接范围内偏转 ±10mm。以 15Hz 持续 20s,停顿 2min。检验用 10 万次负荷变化来进行,检查各连接部位。结果应符合要求。

1——管子;2——夹紧接头;3——压力连接管。
图 2 交变弯曲试验装置
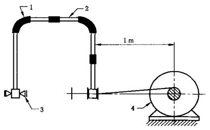
2.6 振动试验
振动试验装置见图 3,试件两端与长度为 200mm 的铜管卡压连接,组成一组试祥,在试件附近固定一端,并与水压试验泵连接,加压至 1.75MPa 并保压,试验介质为自来水。在试样的另一端端部进行振动,其振动试验条件应符合表 2 的要求。进行振动试验时,试验压力为 1.75MPa,在该压力下,持续振动 10 万次,检查卡压管件与铜管连接部位。结果应符合要求。

1——试件;2——长度为 200mm 的管子;3——球阀;4——偏心轮。
图 3 振动试验装置
表 2 振动试验条件
| 项 目 | 条 件 |
| 振幅 | ±1mm |
| 振动频率 | 20Hz |
2.7 压力波动试验
卡压管件两端与长度为 500mm 的铜管卡压连接,组成一组试样。从 0.1MPa 加压至 2.5MPa 为一个循环,试验介质为自来水,每分钟应进行(30±5)个循环,持续 10000 个循环时,检查卡压管件和铜管连接部位。结果应符合要求。