今天给大家带来的是关于低温阀门低温循环寿命试验方法的内容。
低温阀门是指公称压力 PN16~PN400、公称尺寸 DN15~DN1200 ; 压 力等级 Class150 ~Class2500 、公称尺寸 NPS1/2~NPS48 , 介质温度 -196℃~-29℃ 的法兰、对夹和焊接连接的低温闸阀、截止阀、止回阀、球阀和蝶阀的统称,其低温循环寿命试验按如下的规定进行。低温循环寿命试验也可在内冷循环的条件下进行,内冷循环装置原理图参见图 1。

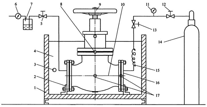
图 1 内冷循环原理图
低温循环寿命,最少低温循环次数:闸阀、截止阀、球阀、蝶阀,202 次;止回阀,3 次。
1、低温循环寿命试验
1.1 第一阶段——阀门低压循环动作试验
开启试验阀门和低温装置下游端的阀门,然后将压力稳定至 0.2MPa,使阀腔内充满介质,两端阀座没有压差时,开关阀门 200 次。开启和关闭阀门的操作速度可由买卖双方商定。
1.2 第二阶段——阀门最大允许工作压力下的循环动作试验
在第一阶段阀门最后一次开关动作结束后,关闭试验阀门,打开低温装置下游端的隔离阀并泄放试验阀门下游端的压力,将上游端的压力升至最大允许工作压力,然后测量阀座的泄漏量,如果泄漏量满足要求,在最大允许工作压力下,开关阀门 2 次,记录第 2 次阀座的泄漏量。

说明:
1——低温试验槽;2——支架;3——冷却介质内热电偶;4——冷却介质;5——下游隔离阀;
6——流量计;7——酒精计泡器;8——阀体中法兰处热电偶;9——试验阀门;
10——阀门内部热电偶;11——压力表;12——压力调节阀;13——上游隔离阀;
14——氦气瓶;15——蛇形管;16——法兰盲板;17——阀体或法兰盲板处热电偶(可选)
图 2 阀门低温性能试验装置示意图