今天给大家带来关于轮胎气门嘴延伸管(以下简称延伸管)密封性试验方法的内容。方法适用于载重汽车(包括客车、挂车及无轨电车)、工业车辆、工程机械、拖拉机、农业和林业机械等轮胎用气门嘴延伸管的密封性试验。
延伸管的密封性试验分为常温试验、低温试验及高温试验,对应的试验要求如下:
1、常温试验
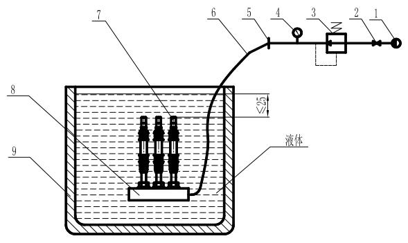
在室温下,用专用扭矩扳手将符合 GB/T 1796.6 的气门芯,按 GB/T 1796.6 规定的装配扭矩安装在试验延伸管的芯腔内,然后按 HG/T 4193 规定的装配扭矩安装在图 1 所示的充气装置上,将其放入水中,延伸管最高部位距液面不超过 25mm,通入 1400kPa 的压缩空气,观察并记录延伸管嘴口、延伸管与连接管、连接嘴连接部位、及延伸管体、延伸管与充气装置连接部位是否有气泡逸出。
泄漏率不大于 0.2cm³/min 或 60s 内无气泡逸出为合格。
安装过程中的夹附气体不视为泄漏。

1——气源;2——截止阀;3——调压阀;4——压力表;5——管接头;
6——高压软管;7——延伸管;8——充气装置;9——液槽。
图 1 密封性试验装置示意图
2、低温试验
2.1 将常温试验合格的延伸管,连同充气装置一起放入(-40±3)℃ 的低温箱中,在(180±15)kPa 的压力下,停放 24h,按压顶开气门芯芯杆一次,并按 HG/T 4193 规定的扭矩重新拧紧延伸管和充气装置一次。
2.2 在(180±15)kPa 恒压下,将试验装置浸入(-40±3)℃ 的乙醇或甲醇中,观察并记录延伸管嘴口、延伸管与连接管、连接嘴连接部位、及延伸管体、延伸管与充气装置连接部位是否有气泡逸出。
泄漏率不大于 0.2cm³/min 或 60s 内无气泡逸出为合格。
安装过程中的夹附气体不视为泄漏。
2.3 增加气压至(1400±150)kPa,观察并记录延伸管嘴口、延伸管与连接管、连接嘴连接部位、及延伸管体、延伸管与充气装置连接部位是否有气泡逸出。
泄漏率不大于 0.2cm³/min 或 60s 内无气泡逸出为合格。
安装过程中的夹附气体不视为泄漏。
3、高温试验
3.1 将低温试验合格的延伸管,连同充气装置恢复室温后,一起放入(100±3)℃ 的高温箱中,在(1400±150)kPa 的压力下,停放 72h,按压顶开气门芯芯杆一次;
3.2 在(1400±150)kPa 恒压下,将试验装置浸入(66±3)℃ 的清水中,观察并记录延伸管嘴口、延伸管与连接管、连接嘴连接部位、及延伸管体、延伸管与充气装置连接部位是否有气泡逸出。
泄漏率不大于 0.2cm³/min 或 60s 内无气泡逸出为合格。
安装过程中的夹附气体不视为泄漏。
以上就是今天的分享!如果您对用于上述试验密封性试验装置感兴趣,欢迎与我们联系!
