今天给大家带来的分享是关于船舶与海上技术-配有弹性密封件的金属管路附件耐火性能试验方法的内容。方法适用于船舶工程系统中带有弹性密封件的金属阀门、管接头和类似的管路附件(以下简称管路附件),用于判断在符合 GB/T 22219/ISO 19922:2005 要求的试验台上完成火烧试验后,在检验压力下,管路附件是否保持密封和无任何影响其功能的损坏。
1、试样和试验准备
管路附件的试样尺寸应能被火焰完全包围,并符合 4.1 的规定。
试样与试验台的连接方式,应由生产厂商与试验操作人员协商一致。字母 B 表示试验中试验样品不带防火套,字母 F 表示试验中试验样品带有防火套。
试样在试验时是否带有防火层应当协商一致。
试验前,样品应在环境温度下放置 24h。
2、试样数量
试样的数量和尺寸规格应由生产厂商和试验操作人员协商一致。但是,至少应用 3 个不同尺寸规格的样品来进行试验。
用于验证的成系列的管路附件中的最小和最大尺寸规格的管路附件,都应进行试验。
3、试验台
试验中所用试验台应符合 GB/T 22219 的规定。
4、试验方法
4.1 试样的安装
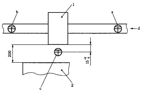
试样应被安装在试验台上方,试验台的燃烧器侧面超出试样各边的距离不应小于 20mm(见图 1),并使试样能被火焰完全包围。
单位为毫米

1——试样;2——试验台的燃烧器。
图 1 试样安装示意图
4.2准备
安装后,试样应通入试验介质(水)至少 1min,以便尽可能的排除试样中的空气。
4.3 测量值和测量点
应在指定的测点(见图 2)处测量下列数值:
a)测点 a 和 b 处的水温;
b)测点 c 处的火焰温度;
c)水的流量;
d)火烧过程中试样内的工作压力;
e)燃气消耗量。
在试验过程中,应以不超过 2min 的时间间隔对所有数值进行测量。

1——试样;2——试验台的燃烧器。
注:
a——试样进口处的水温测点;b——试样出口处的水温测点;c——在试样中心正下方的火焰温度测量点;d——水流方向。
图 2 温度测量点示意图
4.4 试验开始
当测量点温度(火焰温度和水温)达到表 1 规定温度的时刻为试验开始时刻。
4.5 试验温度
在火烧试验过程中,应保持表 1 所示温度值。应控制水流的速度,以保持水温在规定的范围内。
表 1 温度
| 测点 a 的水温 | 80℃±2℃ |
| 测点 b 的水温 | ≤85℃ |
| 测点 c 的火焰温度 | 800℃±50℃ |
注:温度测量点见图 2。 | |
4.6 试验压力
试验过程中,试样的工作压力不应低于 0.5MPa±0.02MPa。
可采用其他的工作压力进行试验,但应由生产厂商与试验操作人员协商一致。
火烧结束后,试样应在环境温度下进行水压密封性检验,检验压力不应小于 1.5 倍的公称压力或工作压力,保持 5min,试样应无渗漏。
4.7 持续时间
火烧试验持续时间应为 30min。
4.8 热通量
热通量应符合燃料流量为 5kg/h 的预混和丙烷的燃烧所产生的 65kW 热释放率。为保持稳定的热通量,应测量燃气消耗量,测量精度为 ±3%。试验中所用丙烷的纯度不小于 95%。
对于公称直径超过 152mm 的管路附件,公称直径每增加 51mm 就应增加一排燃烧器。在燃烧器组中心线上方 125mm±10mm 处,仍应保持平均 113.6kW/m²(±10%)的稳定热通量。应调节燃料流量以保持指定的热通量,并且火焰应将试样完全包围。
以上就是今天的分享!如果您对用于上述试验的软管组件耐火性能试验装置感兴趣,欢迎与我们联系!

