阀门压力试验装置(以下简称试验装置)的结构型式分为:抱压式试验装置(法兰连接端阀门用)和顶压式试验装置(焊接连接端和对夹连接阀门用,顶压式试验装置,按顶压方式分为液压顶压式和螺杆顶压式。),其结构示意图参见下图 1~ 图 4。
阀门试验装置的 4 种结构示意图:
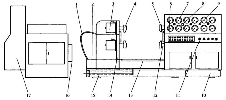
1、抱压式试验装置结构示意图如图 1 所示。

标引序号说明:
1——软管;2——挡水板;3——夹紧液压缸;4——左工位;5——法兰盖;6——按钮板;
7——仪表;8——继电器;9——报警器;10——底座;11——控制阀;12——右工位;
13——脚踏板;14——工作盘;15——移动液压缸;16——翻转液压缸;17——控制柜。
图 1 抱压式试验装置结构示意图
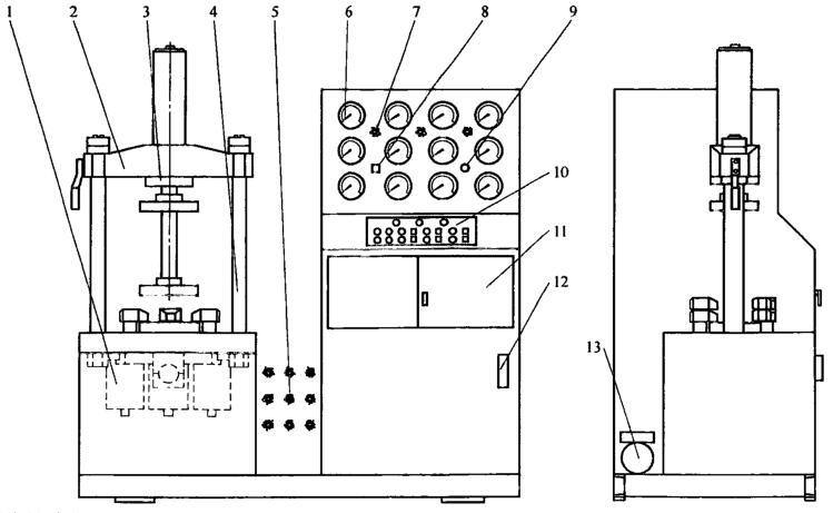
2、顶压式试验装置结构示意图如图 2 所示。

标引序号说明:
1——夹紧液压缸;2——横梁;3——上顶缸;4——立柱;5——控制阀;
6——仪表盘;7——压力表开关;8——计时器;9——报警器;10——控钮板;
11——电器柜;12——液位计;13——水泵及电机。
图 2 顶压式试验装置(立式)结构示意图
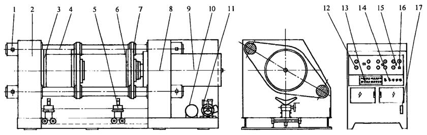
3、顶压式试验装置(卧式)结构示意图如图 3~图 4 所示。

标引序号说明:
1——拉杆螺母;2——左牌坊;3——左法兰盖;4——拉杆;5——小车;6——右法兰盖;
7——中牌坊;8——右牌坊;9——顶紧液压缸;10——高压水泵;11——低压水泵;12——仪表盘;
13——按钮板;14——控制阀;15——报警器;16——计时器;17——检漏计。
图 3 液压顶压式试验装置(卧式)结构示意图

标引序号说明:
1——拉杆螺母;2——左牌坊;3——左法兰盖;4——拉杆;5——小车;6——右法兰盖;
7——中牌坊;8——传动螺母;9——右牌坊;10——传动齿动;11——螺杆;12——控制阀;
13——螺杆传动系统;14——仪表盘;15——按钮版;16——张力控制器;17——报警器;18——计时器。
图 4 螺杆顶压式试验装置(卧式)结构示意图
以上就是今天的分享!如果您对阀门压力试验装置感兴趣,欢迎与我们联系!