流砂过滤器 Sandflo filter,是一种利用石英砂作为过滤介质,在一定的压力下,把浊度较高的待处理水引入,利用装填介质的吸附、截留等作用,去除水中悬浮物的过滤器。今天我们来学习关于此类过滤器要求及试验方法的内容。

标引序号说明:
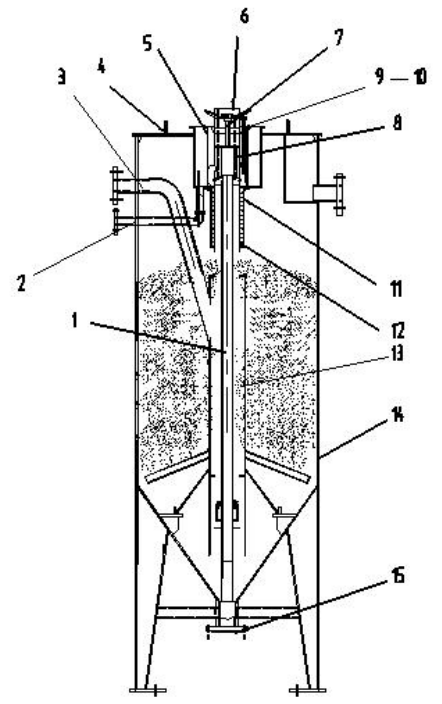
1——提砂管道;2——排污管;3——进水管;4——过滤器端盖;5——洗砂盘组件;6——防溅罩;7——固定螺杆;8——防溅盖;
9——螺栓;10——螺母;11——外洗砂器;12——内洗砂器;13——布水器组件;14——过滤器壳体;15——放空口。
图 1 流砂过滤器结构示意图
1、要求
1.1 基本要求
过滤器应符合本文件的规定,并按照经规定程序批准的图样及技术文件制造。
1.2 技术要求
1.2.1 过滤器过滤后水中悬浮物杂质的去除率(净化效果)应符合设计要求。
1.2.2 过滤器的过滤流量应符合设计要求。
1.2.3 过滤器筒体的最大允许工作压力应不小于设计压力。
1.2.4 过滤器的设计滤速应不大于 12m/h。
1.2.5 过滤器的去除率应符合项目设计要求。
1.3 结构要求
1.3.1 过滤器的结构设计应符合 NB/T 47003.1-2009 中关于立式圆筒形容器的规定。
1.3.2 过滤器各密封部位应无渗漏。
1.4 主要零件的材料要求
1.4.1 过滤器主要零件的材料应有材料供应厂商的质量证明书。如无质量证明书时,制造企业须按相关标准进行检验,合格后方可使用。
1.4.2 过滤器的滤料检验应符合 CJ/T 43 中滤料参数的规定。
1.4.3 制造过滤器的材料,允许以性能相近或较优的材料代替,但必须经设计部门同意。
1.5 主要零件的制造要求
1.5.1 过滤器提升管直径及洗砂盘尺寸应符合设计要求。
1.5.2 过滤器洗砂器挡板制作要规整、排布均匀。
1.5.3 焊接应符合 JB/T 2932-1999 中 7.6 焊接与热处理的规范要求;
1.6 外观质量
1.6.1 过滤器筒体表面应无明显的锤痕、尖刺和划伤。
1.6.2 过滤器内、外表面的涂装处理应符合 JB/T 7217 的要求。
2、试验
2.1 试验要求
过滤器的试验中关于流量及截污容量测量应符合 GB/T 13922 的规定。检漏试验应满足 NB/T 47003.1 中盛水试验的要求。
2.2 试验条件
过滤器进行各项试验时,机器安装形式(弹性或刚性基础)应与使用时的安装形式相一致。
2.3 试验方法
2.3.1 设备盛水试验:试验前应将焊接部位的外表面清除干净,并使之干燥,然后注满水,观察时间根据实际需要决定,但应不少于 1h。实验中焊接部位应该无渗漏,如有渗漏,修补后重新试验,实验完毕,应将水排空并用压缩空气将内部吹干。
2.3.2 流量试验:过滤器在试验台做试验时,在过滤器出口设置流量仪进行测试,当压力达到设计压力时,每隔 10min 记录 1 次流量数值,共记录 5 次,然后取平均值。
2.3.3 出水悬浮物杂质去除率测定:过滤器应在正常运转 8h 后在进出水取水点开始取水检测。进水取水位置应设在只进入过滤器主管上,取水点到过滤器之间不应有支管将水分流到非过滤器处;出水取水位置应在过滤器出水管进入蓄水池出口处(密封管道系统可在设备出水管道上加装一取水口);进出水取水数量应不少于检测用水数量的 4 倍。取水器皿及保存方法按照按 GB/T 11901 执行。对取样水分别按 GB/T 11901 测定进水悬浮物含量和出水悬浮物含量,然后按公式(1.1)进行计算:
η=(H1-H2)/H1*100%……………………………………………(1.1)
式中:
η——悬浮物杂质去除率,单位为百分比(%);
H1——进水悬浮物含量,单位为克(g);
H2——出水悬浮物含量,单位为克(g)。