汽车液力变矩器总成的可靠性试验:
1、可靠性要求
1.1 液力变矩器总成压力脉冲可靠性
试验油压应满足:变速箱液压系统提供给液力变矩器总成最大工作压力值的基础上增加 0.2MPa。试验脉冲频率为 1Hz~10Hz,总循环次数应不小于 1×106 次。
试验结束后,应满足下列要求:
a)液力变矩器总成没有裂纹或破坏,塑性变形不大于技术文件要求数值;
b)所有焊缝区域不允许出现油品泄露;
1.2 液力变矩器总成超速可靠性
要求试验转速至少达到发动机最高转速的 1.5 倍,试验设定的最高转速持续时间应不小于 5min。
试验结束后,应满足下列要求:
a)表面无破坏、无裂纹、无脱落;
b)液力变矩器总成功能性要求可保证。
1.3 液力变矩器总成低速比耐久可靠性
基于产品要求,可选用以下方法中的一种方法进行测试:
a)速比为 0,输入转速为发动机标定最大扭矩对应的转速,试验累计时间不小于 10h;
b)速比为 0.1,液力变矩器总成输入扭矩至少达到发动机标定的最大扭矩,试验累计时间不小于 30h;
试验结束后,应满足下列要求:
a)液力变矩器总成的叶片、钎焊部分以及其他零部件不应出现疲劳损坏,内部零部件之间无干涉;
b)产品性能评价指标的变化不超过 5%;
c)无漏油现象;
d)液力变矩器总成功能性要求可保证。
1.4 减振器分总成扭转耐久可靠性
试验频率 1Hz-10Hz,总循环次数不应小于 1×106 次,试验扭矩按照如下条件设定:
a)正向扭矩:1.3 倍发动机额定扭矩或者减振器分总成设计极限扭矩;
b)反向扭矩:1 倍发动机额定扭矩或者减振器分总成设计极限扭矩。
试验结束后,应满足下列要求:
a)零件无裂纹,破损,异常磨损;
b)减振器分总成扭转特性变化不应超过技术文件要求。
1.5 动态膨胀可靠性
要求试验转速至少达到发动机额定转速,单次测试需待试验条件稳定后采集数据。
试验结束后,应满足下列要求:
a)以下测试点处的变形量均应满足技术文件要求的数值:泵轮轴套(S3 处测试点)到盖柄(S1 处测试点)的总弹性变形和塑性变形;泵轮轴套(S3 处测试点)的弹性变形和塑性变形;盖柄(S1 处测试点)的弹性变形和塑性变形;
b)无漏油现象;
c)液力变矩器总成功能性要求可保证。
1.6 静态膨胀可靠性
试验油压应满足:变速箱液压系统提供给液力变矩器总成最大工作压力值的基础上增加 0.2MPa,试验压力保持时间不小于 1min。
试验结束后,应满足下列要求:
a)液力变矩器总成弹性变形和塑性变形应满足技术文件要求的数值;
b)无漏油现象;
c)液力变矩器总成功能性要求可保证。
1.7 锁止离合器滑摩耐久可靠性
锁止离合器滑摩功率按照下式进行计算
P=T∙∆n/9550
式中:
P——锁止离合器滑摩功率的数值,单位为 kW;
T——锁止离合器传递的扭矩的数值,单位为 Nm;
∆n——运行过程中输入轴和输出轴转速差的数值,单位为 r/min。
速差要求:70r/min~100r/min;滑摩功率:1.5kW(或按照供需双方基于对摩擦材料的评估确定的滑摩功率);单次循环中,持续滑摩时间不小于 20min,冷却时间不大于 5min,总滑摩时间不小于 150h。
试验结束后,应满足下列要求:
a)摩擦材料无剥落、膨胀和裂纹;
b)摩擦片磨损厚度满足技术文件要求;
c)液力变矩器总成功能性要求可保证;
d)锁止离合器摩擦特性满足技术文件要求。
1.8 有负载加减速可靠性
总循环次数不小于 1×105 次。试验结束后,应满足下列要求:
a)单向离合器无异常磨损;
b)液力变矩器总成的叶片、钎焊部分以及其他零部件不应出现疲劳损坏,内部零部件之间无干涉;
c)液力变矩器总成功能性要求可保证。
1.9 连接块扭转耐久可靠性
试验扭矩不小于发动机最大输出扭矩的 6 倍,试验频率 1Hz-10Hz,总循环次数不应小于 5×106 次。
试验结束后,应满足盖、连接块以及焊接部位没有裂纹、破损。
1.10 泵轮分总成偏心载荷耐久可靠性
考核泵轮分总成中泵轮毂的焊接强度,其中试验转速,施加的力(或弯矩)和试验次数应满足技术文件要求。
试验结束后,泵轮分总成焊接部位没有裂纹及撕裂。
1.11 盖分总成偏心载荷耐久可靠性
考核盖分总成盖柄的焊接强度,其中试验转速,施加的力(或弯矩)和试验次数应满足技术文件要求。
试验结束后,盖柄焊接部位没有裂纹及撕裂。
| 标引序号说明: 1——输入电机; 2——输入轴扭矩传感器; 3——液力变矩器总成; 4——台架保护罩; 5——输出轴扭矩传感器; 6——传动轴; 7——输出电机。 |
图 1 性能测试试验台原理图
2、可靠性试验方法
2.1 液力变矩器总成压力脉冲可靠性试验
2.1.1 试验装置
试验装置见图 2,液力变矩器总成压力脉冲可靠性试验装置要求如下:
a)试验台架应满足:试验项目所规定的运转状态、运转范围和试验参数的测量,以及试验条件所提出的其他要求;
b)油压调节装置:试验油压值能够达到 1.1 的要求;
c)定位和固定装置:采用与实车相同原理的连接装置将液力变矩器总成可靠地固定在试验台的支架上。
| 标引序号说明: 1——液力变矩器总成; 2——支架; 3——压力传感器。 |
图 2 液力变矩器总成压力脉冲试验装置示意图
2.1.2 试验程序
液力变矩器总成压力脉冲可靠性试验程序如下:
a)将液力变矩器总成安装到试验台架上;
b)设置相应的试验油压值,数值应满足 1.1 的要求;
c)进行脉冲加压,脉冲频率应满足 1.1 的要求。
2.2 液力变矩器总成超速可靠性试验
2.2.1 试验装置
试验装置见图 3,液力变矩器总成超速可靠性试验装置要求如下:
a)试验台架应满足:试验项目所规定的运转状态、运转范围和试验参数的测量,以及试验条件所提出的其他要求;
b)驱动装置:能够驱动输入轴转速使其达到 1.2 所要求的数值;
c)定位和固定装置:能够将液力变矩器总成可靠地固定在试验台的支架上;
d)台架联接装置:保证台架动力的传递,要求运转时尽量避免件的能量损失。
| 标引序号说明: 1——输入电机; 2——输入电机保护罩; 3——转速传感器; 4——液力变矩器; 5——台架保护罩。 |
图 3 液力变矩器总成超速试验装置示意图
2.2.2 试验程序
液力变矩器总成超速可靠性试验程序如下:
a)将充油状态的液力变矩器总成安装到试验台架上;
b)逐步提高输入转速直至达到 1.2 所要求的数值,试验持续时间应满足 1.2 中的要求;
c)逐次降低输入转速至零。
2.3 液力变矩器总成低速比耐久可靠性试验
2.3.1 试验装置
试验装置见图 1。
2.3.2 试验程序
在牵引工况下进行测试,保持速比等于 0.1 或者 0,按设定的增量逐次提高输入转速和输出转速,直至输出扭矩达到设计最大值,试验累计时间应满足 1.3 中的要求。
试验过程中对出口油温进行检测,若油温超过允许的数值,可暂停试验待油温冷却后继续进行,保证试验累计时间。
2.4 减振器分总成扭转耐久可靠性试验
2.4.1 试验装置
减振器分总成扭转耐久试验装置见图 4。应满足以下试验条件:
a)可开发夹具在特定的台架上开展试验,但需保证减振器分总成相关传扭部件为原始受力状态且浸在油中;
b)可基于试验要求设定不同正向和反向扭矩;
c)扭转频率:2Hz~10Hz。
| 标引序号说明: 1——芯轴; 2——角度、扭矩集成传感器; 3——作动器; 4——涡轮减振器分总成; 5——湿式箱总成; 6——固定板; 7——轴封; 8——密封圈。 |
图 4 减振器分总成扭转耐久试验台示意图
2.4.2 试验程序
减振器分总成扭转耐久可靠性试验程序如下:
a)将减振器分总成固定在设备上;
b)将减振器分总成通过芯轴连接在试验台上;
c)按照 1.4 的要求对进行扭矩加载,试验次数应满足 1.4 中的要求。
2.5 动态膨胀可靠性试验
2.5.1 试验装置
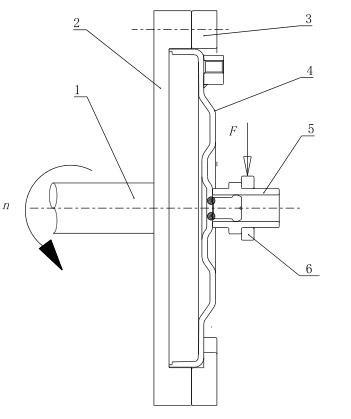
非闭锁动态膨胀可靠性试验装置见图 5,闭锁状态原理跟非闭锁状态一致,仅油路方向跟非闭锁状态相反,试验装置要求如下:
试验台架应满足:选定的试验项目所规定的运转状态、运转范围和试验参数的测量,以及试验条件所提出的其他要求;
a)驱动装置:能够驱动输入轴转速使其达到 2.5.2 所要求的数值;
b)定位和固定装置:能够将液力变矩器总成可靠地固定在试验台的支架上;
c)台架联接装置:保证台架动力的传递,要求运转时尽量避免附件的能量损失。

图 5 非闭锁动态膨胀性试验台示意图
2.5.2 试验程序
牵引工况下,在锁止离合器闭锁和非闭锁状态分别进行该试验,按设定的增量逐次提高输入转速直至设定值,设定值应满足 1.5 中的要求,输出轴保持自由状态,试验持续时间应满足 1.5 中的要求,测量并记录液力变矩器总成测量点的弹性变形量和塑性变形量。
按技术文件要求的转速和压力进行上述试验。
2.6 静态膨胀可靠性试验
2.6.1 试验装置
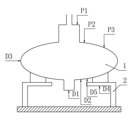
静态膨胀试验装置及测试点 D1、D2、D3、D4、D5、P1、P2 和 P3 布置见图 6,静态膨胀试验装置应满足以下要求:
a)试验台架应满足:试验项目所规定的运转状态、运转范围和试验参数的测量,以及试验条件所提出的其他要求;
b)油压调节装置:施加油压压力能够满足 1.6 的要求;
c)定位和固定装置:能够将液力变矩器总成可靠地固定在试验台的支架上。
| 标引序号说明: 1——液力变矩器; 2——支架。 |
图 6 静态膨胀试验装置及测试点示意图
2.6.2 试验程序
静态膨胀可靠性试验程序如下:
a)将液力变矩器总成安装到试验台架上;
b)设置相应的试验油压,油压数值及试验持续时间均应满足 1.6 中的要求,测量并记录液力变矩器总成测试点的弹性变形量和塑性变相量。
按技术文件不同试验油压值重复上述试验。
2.7 锁止离合器滑摩耐久可靠性试验
2.7.1 试验装置
试验装置见图 1。
2.7.2 试验程序
在闭锁工况下进行测试,试验条件满足 1.7 中要求,输入、输出转速差达到设定值,单次循环时间及试验总时间满足 1.7 中的要求。
2.8 有负载加减速可靠性试验
2.8.1 试验装置
试验装置见图 1。
2.8.2 试验程序
在牵引工况下进行测试,同时提高输入转速和输出转速至发动机怠速转速,保持输出转速恒定,按设定的增量逐次提高输入转速,达到发动机最大输出扭矩相对应的转速,然后逐渐降低输入转速到发动机怠速转速。
循环进行上述试验过程,试验次数应满足 1.8 的要求。
2.9 连接块扭转耐久可靠性试验
2.9.1 试验装置
连接块扭转耐久试验装置见图 7。
| 标引序号说明: 1——盖分总成; 2——固定盘; 3——连接盘; 4——芯轴; 5——扭矩传感器; 6——作动器。 |
图 7 连接块扭转耐久试验装置示意图
2.9.2 试验程序
连接块扭转耐久可靠性试验程序如下:
a)将液力变矩器盖分总成固定在设备上;
b)连接块通过连接装置连接在试验台上,确保试验扭矩施加在连接块上;
c)设置设备扭矩、试验频率及试验次数应满足 1.9 中的要求。
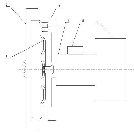
2.10 泵轮分总成偏心载荷耐久可靠性试验
2.10.1 试验装置
泵轮分总成偏心载荷耐久可靠性试验装置见图 8。
| 标引序号说明: 1——转轴; 2——底座盘; 3——压盘; 4——泵轮分总成; 5——固定套筒; 6——加载盘。 |
图 8 泵轮总成偏心载荷耐久可靠性试验装置示意图
2.10.2 试验程序
泵轮分总成偏心载荷耐久可靠性试验程序:
a)将泵轮分总成固定到试验台架上;
b)对泵轮分总成相应的位置分别加载转速 n 和加载力 F,相关测试参数应满足 1.10 中的要求。
2.11 盖分总成偏心载荷耐久可靠性试验
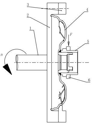
2.11.1 试验装置
盖分总成偏心载荷耐久可靠性试验装置见图 9。
| 标引序号说明: 1——转轴; 2——底座盘; 3——压盘; 4——盖分总成; 5——固定套筒; 6——加载盘。 |
图 9 盖柄偏心载荷耐久可靠性试验装置示意图
2.11.2 试验程序
泵轮分总成偏心载荷耐久可靠性试验程序如下:
a)将盖分总成固定到试验台架上;
b)转轴的加载转速为 n 和加载盘加载力为 F,相关测试参数应满足 1.11 中的要求。