复合材料滤清器进行冷起动模拟和液压脉冲耐久试验的目的是为了测定承压壳体由复合材料制造的内燃机全流式机油滤清器在特定工作温度下承受内压波动和周期性内压变化的能力。
以下试验要求方法适用于旋装式复合材料机油滤清器和采用一次性滤芯的可拆换式复合材料机油滤清器。(对相关试验设备感兴趣的,可与我们联系!)
1、试验工作特性
在工作过程中,滤清器承受的温度和压力波动范围较宽。第"6"的试验方法验证了滤清器壳体和密封圈在规定起动工况次数或循环压力波动次数下抗高压波动的能力。试验可在全试验温度范围内进行。
2、试验设备
在规定的试验温度下,试验设备和回路应能产生并重复如图 1 所示的压力循环。

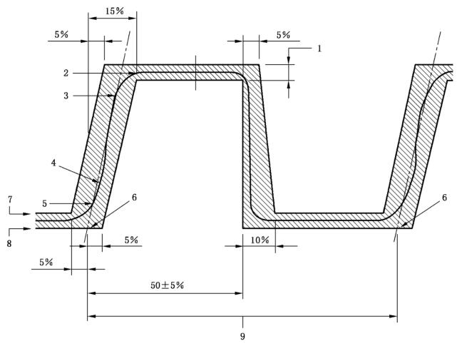
说明:
1——±5% 循环试验压力;2——循环试验压力;3——85% 循环试验压力;4——压力上升平分线;5——15% 循环试验压力;
6——零点:压力上升平分线与零压的交点;7——5% 循环试验压力;8——0kPa(0psi);9——一个液压脉冲循环。
图 1 冷起动模拟试验和液压脉冲耐久试验的压力脉冲波形图
3、试验液
试验液应与系统运行用液体相一致,或由供需双方商定的另一兼容液。试验液应能在第"4"规定的温度下运行。
4、试验温度
在发动机制造商没有规定或供需双方未商定的情况下,试验温度的极限为 -20℃~130℃。
5、准确度
试验仪器的准确度应能满足以下要求:
——压力:最大循环试验压力的±1.0%;
——时间:分辨率为±0.002s;
——温度:±2℃。
采用的压力传感器、放大器和记录装置组成的系统频率响应范围为 0kHz~2kHz,振幅比为 0dB~-3dB。
压力传感器应直接安装在试验元件中,或尽可能与其靠近,以便记录元件内部状态。应避免传感器与试验压力容器壳体之间的任何限制。
测量仪器和程序应符合 ISO 9110-1 和 ISO 9110-2 的规定。
6、冷起动模拟试验和液压脉冲耐久试验
按滤清器制造商推荐的拧紧扭矩或相对试验滤清器的旋转角度将滤清器安装在一合适的接头上。
将试验接头与试验台工作管路系统相连接。
起动试验系统,运行试验台至系统中空气排尽。
按规定的试验温度将试验系统预热 4h。
增加系统压力,以达到发动机制造商规定值。如无相关规定,应采用表 1 中给定值。
在符合图 1 所示波形的系统压力下起动循环试验。在客户无具体要求的情况下,循环率的范围应为每秒钟 0.5 次循环~2 次循环。
继续进行试验,以一定时间间隔目测失效迹象,直至发生失效或达到发动机制造商规定的循环次数,缺省情况下,则按表 1 中规定的试验压力值进行选取。
停止试验,检查并记录拧紧扭矩。
卸下滤清器,排净试验液,如存在失效,则目测检查试验件以确定失效部位和失效模式。
表 1 试验时采用的压力值和循环次数
| 滤清器类型 | 种类 | 冷起动模拟试验 | 液压脉冲耐久试验 | ||
压力 kPa | 循环次数 | 压力 kPa | 循环次数 | ||
旋装式 (轻型) | A | 1 000 | 1 000 | 500 | 25 000 |
旋装式 (重型) | B | 1 300 | 3 000 | 700 | 50 000 |
一次性滤芯的(可拆换式) | C | 1 600 | 5 000 | 900 | 75 000 |